Официальное опубликование правовых актов
ОФИЦИАЛЬНОЕ ОПУБЛИКОВАНИЕ
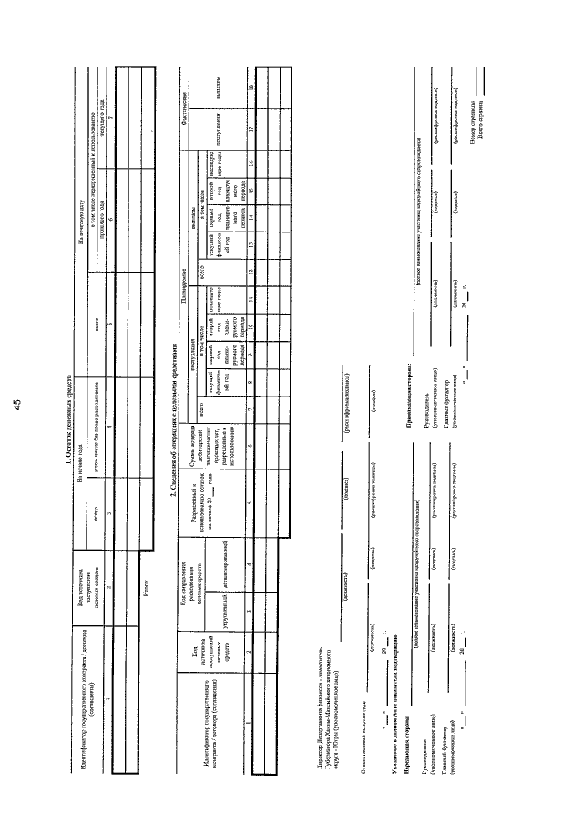
Приказ Департамента финансов Ханты-Мансийского автономного округа - Югры от 09.03.2022 № 3-нп
"Об утверждении Порядка открытия лицевых счетов Департаментом финансов Ханты-Мансийского автономного округа – Югры участникам казначейского сопровождения"
(Зарегистрирован 14.03.2022 № 5991)
Номер опубликования: 8601202203160001
Дата опубликования: 16.03.2022
Страница №45 из 47:
Увеличить