Приказ Департамента финансов Ханты-Мансийского автономного округа - Югры от 09.03.2022 № 3-нп
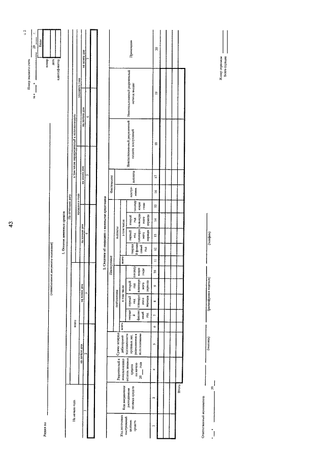
"Об утверждении Порядка открытия лицевых счетов Департаментом финансов Ханты-Мансийского автономного округа – Югры участникам казначейского сопровождения"
(Зарегистрирован 14.03.2022 № 5991)
"Об утверждении Порядка открытия лицевых счетов Департаментом финансов Ханты-Мансийского автономного округа – Югры участникам казначейского сопровождения"
(Зарегистрирован 14.03.2022 № 5991)
Номер опубликования: 8601202203160001
Дата опубликования:
16.03.2022
