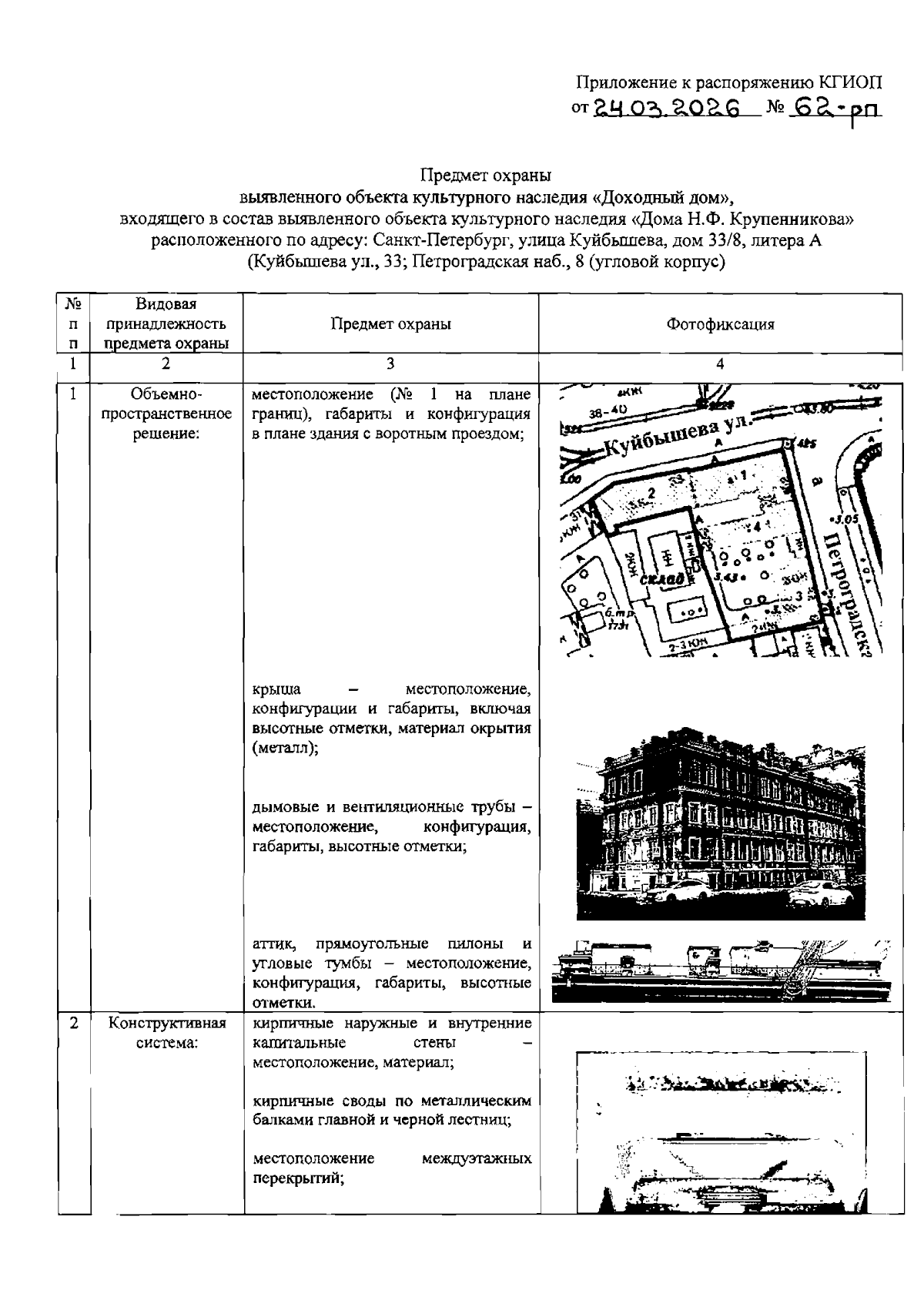
Распоряжение Комитета по государственному контролю, использованию и охране памятников истории и культуры от 24.03.2026 № 62-рп
"Об утверждении предмета охраны выявленного объекта культурного наследия "Доходный дом", входящего в состав выявленного объекта культурного наследия "Дома Н.Ф. Крупенникова"
(Зарегистрирован 27.03.2026 № 53065)
"Об утверждении предмета охраны выявленного объекта культурного наследия "Доходный дом", входящего в состав выявленного объекта культурного наследия "Дома Н.Ф. Крупенникова"
(Зарегистрирован 27.03.2026 № 53065)
Номер опубликования: 7801202604010006
Дата опубликования:
01.04.2026
