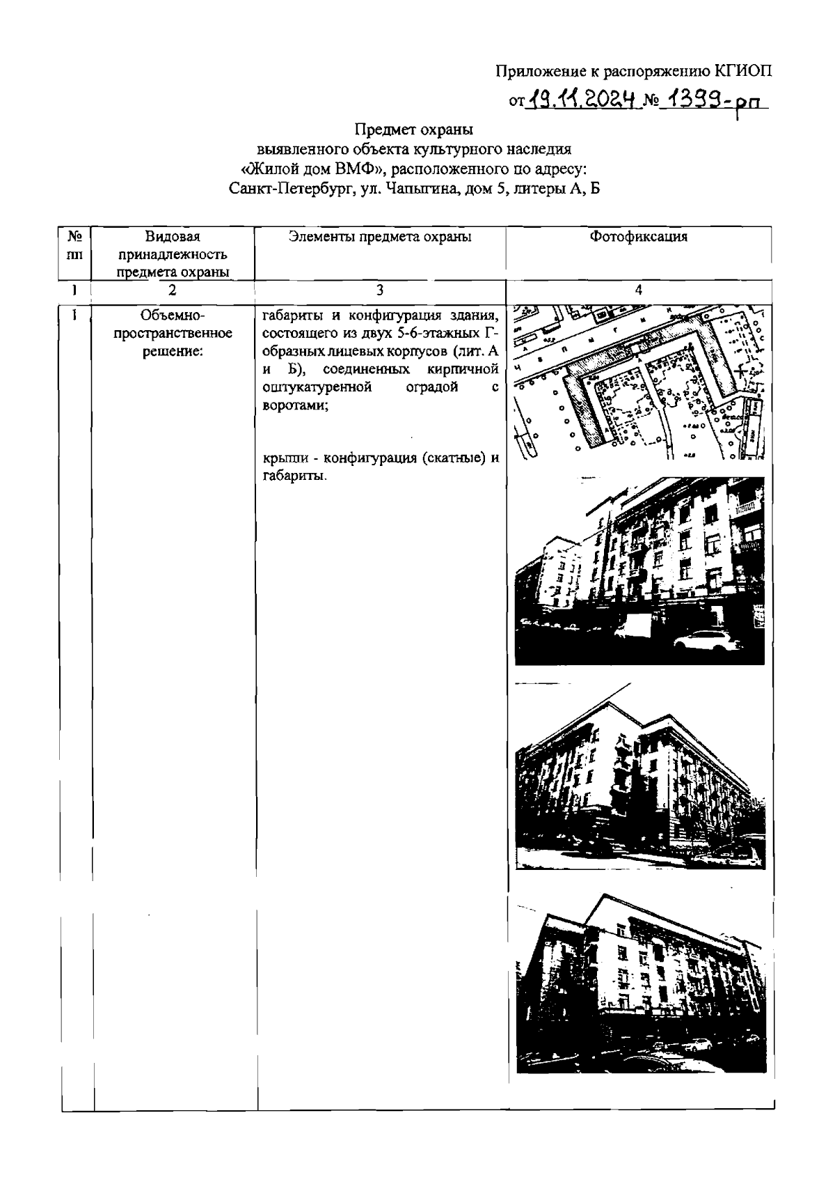
Распоряжение Комитета по государственному контролю, использованию и охране памятников истории и культуры от 19.11.2024 № 1399-рп
"Об утверждении предмета охраны выявленного объекта культурного наследия "Жилой дом ВМФ"
(Зарегистрирован 21.11.2024 № 49336)
"Об утверждении предмета охраны выявленного объекта культурного наследия "Жилой дом ВМФ"
(Зарегистрирован 21.11.2024 № 49336)
Номер опубликования: 7801202411260005
Дата опубликования:
26.11.2024
