Официальное опубликование правовых актов
ОФИЦИАЛЬНОЕ ОПУБЛИКОВАНИЕ
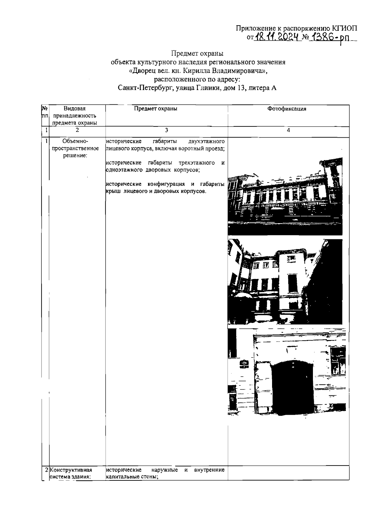
Распоряжение Комитета по государственному контролю, использованию и охране памятников истории и культуры от 18.11.2024 № 1386-рп
"Об утверждении предмета охраны объекта культурного наследия регионального значения "Дворец вел. кн. Кирилла Владимировича"
(Зарегистрирован 20.11.2024 № 49319)
Номер опубликования: 7801202411220007
Дата опубликования: 22.11.2024
Страница №2 из 27:
Увеличить