Официальное опубликование правовых актов
ОФИЦИАЛЬНОЕ ОПУБЛИКОВАНИЕ
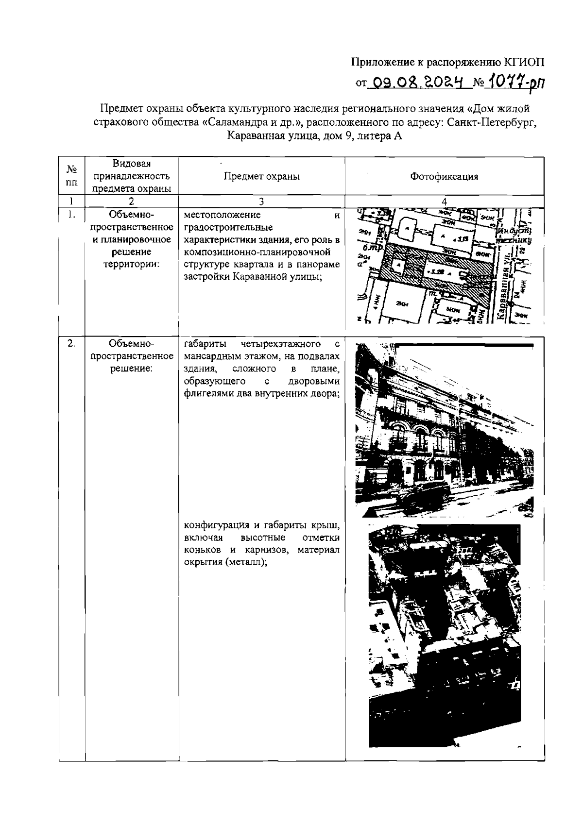
Распоряжение Комитета по государственному контролю, использованию и охране памятников истории и культуры от 09.08.2024 № 1077-рп
"Об утверждении предмета охраны объекта культурного наследия регионального значения "Дом жилой страхового общества "Саламандра и др."
(Зарегистрирован 12.08.2024 № 48655)
Номер опубликования: 7801202408140003
Дата опубликования: 14.08.2024
Страница №2 из 13:
Увеличить