Официальное опубликование правовых актов
ОФИЦИАЛЬНОЕ ОПУБЛИКОВАНИЕ
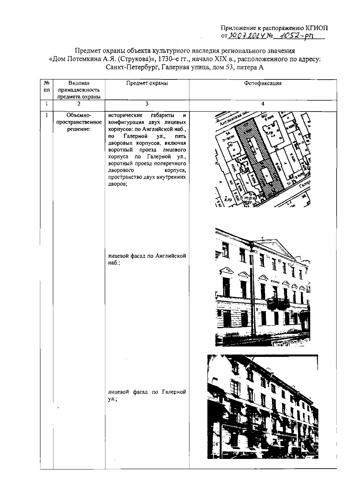
Распоряжение Комитета по государственному контролю, использованию и охране памятников истории и культуры от 30.07.2024 № 1052-рп
"Об утверждении предмета охраны объекта культурного наследия регионального значения "Дом Потемкина А.Я. (Струкова)"
(Зарегистрирован 31.07.2024 № 48592)
Номер опубликования: 7801202408020003
Дата опубликования: 02.08.2024
Страница №2 из 19:
Увеличить