Официальное опубликование правовых актов
ОФИЦИАЛЬНОЕ ОПУБЛИКОВАНИЕ
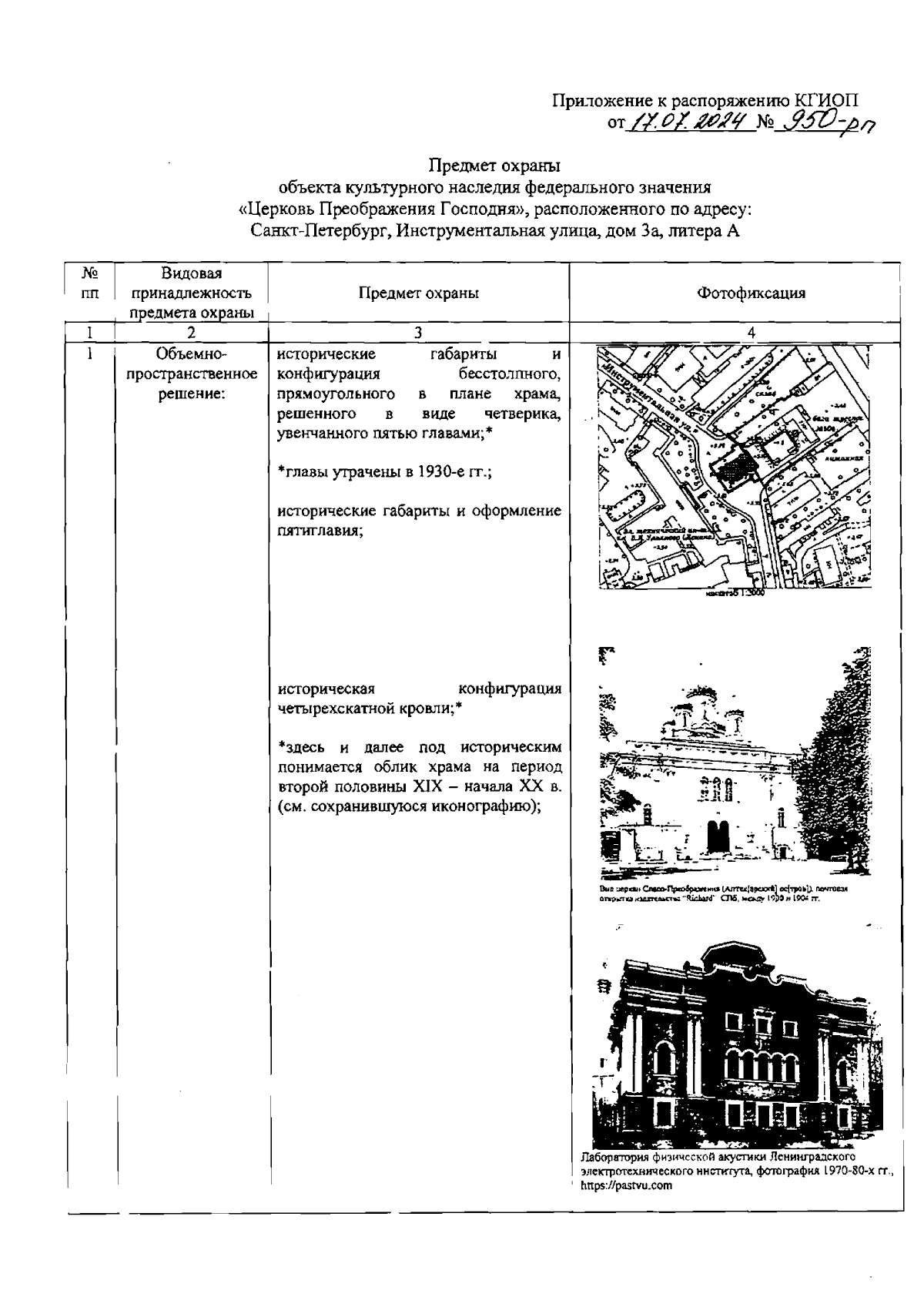
Распоряжение Комитета по государственному контролю, использованию и охране памятников истории и культуры Санкт-Петербурга от 17.07.2024 № 950-рп
"Об утверждении предмета охраны объекта культурного наследия федерального значения "Церковь Преображения Господня"
(Зарегистрирован 18.07.2024 № 48440)
Номер опубликования: 7801202407220009
Дата опубликования: 22.07.2024
Страница №2 из 8:
Увеличить