Официальное опубликование правовых актов
ОФИЦИАЛЬНОЕ ОПУБЛИКОВАНИЕ
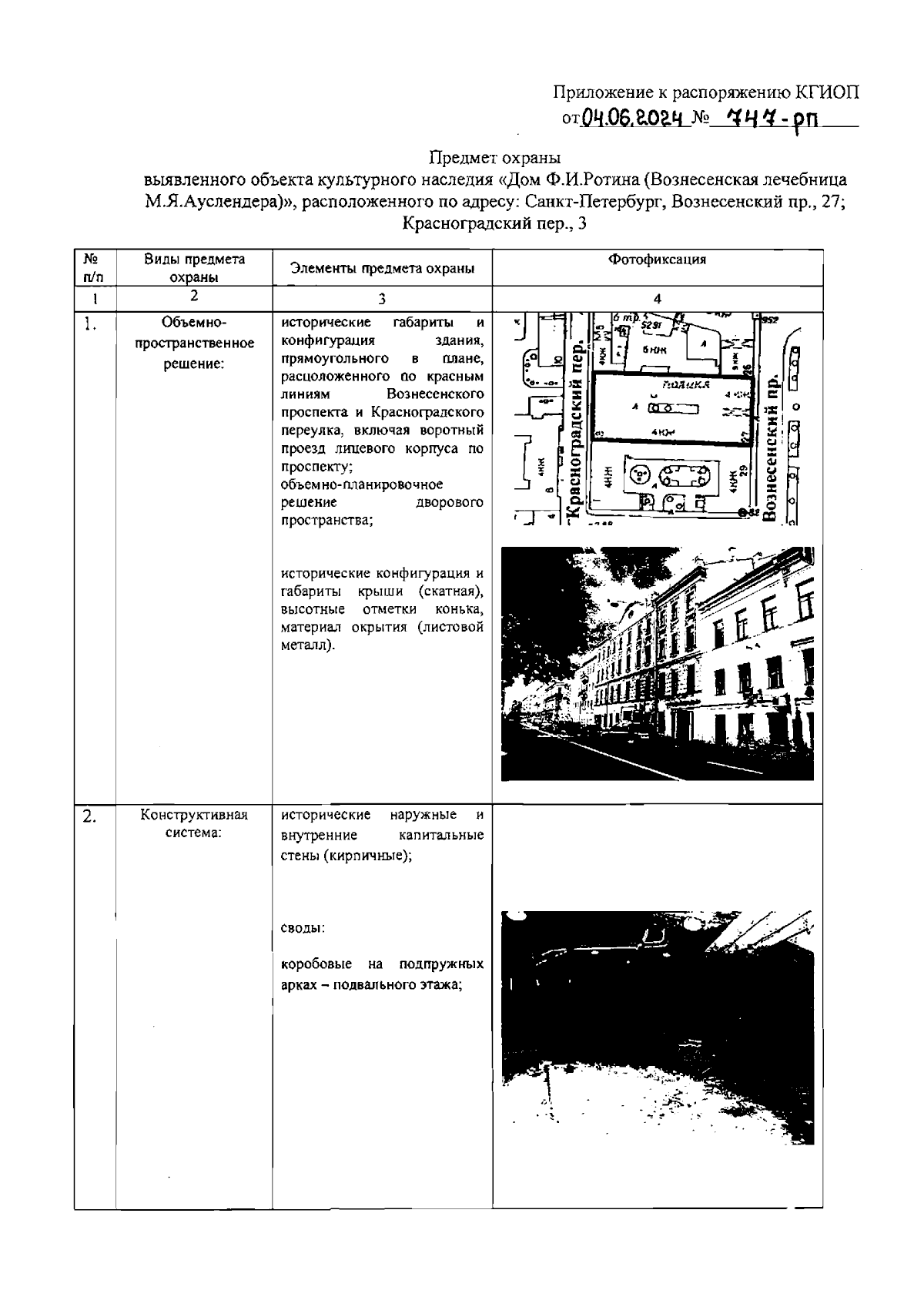
Распоряжение Комитета по государственному контролю, использованию и охране памятников истории и культуры Санкт-Петербурга от 04.06.2024 № 747-рп
"Об утверждении предмета охраны выявленного объекта культурного наследия "Дом Ф.И.Ротина (Вознесенская лечебница М.Я.Ауслендера)"
(Зарегистрирован 05.06.2024 № 48046)
Номер опубликования: 7801202406100025
Дата опубликования: 10.06.2024
Страница №2 из 7:
Увеличить