Официальное опубликование правовых актов
ОФИЦИАЛЬНОЕ ОПУБЛИКОВАНИЕ
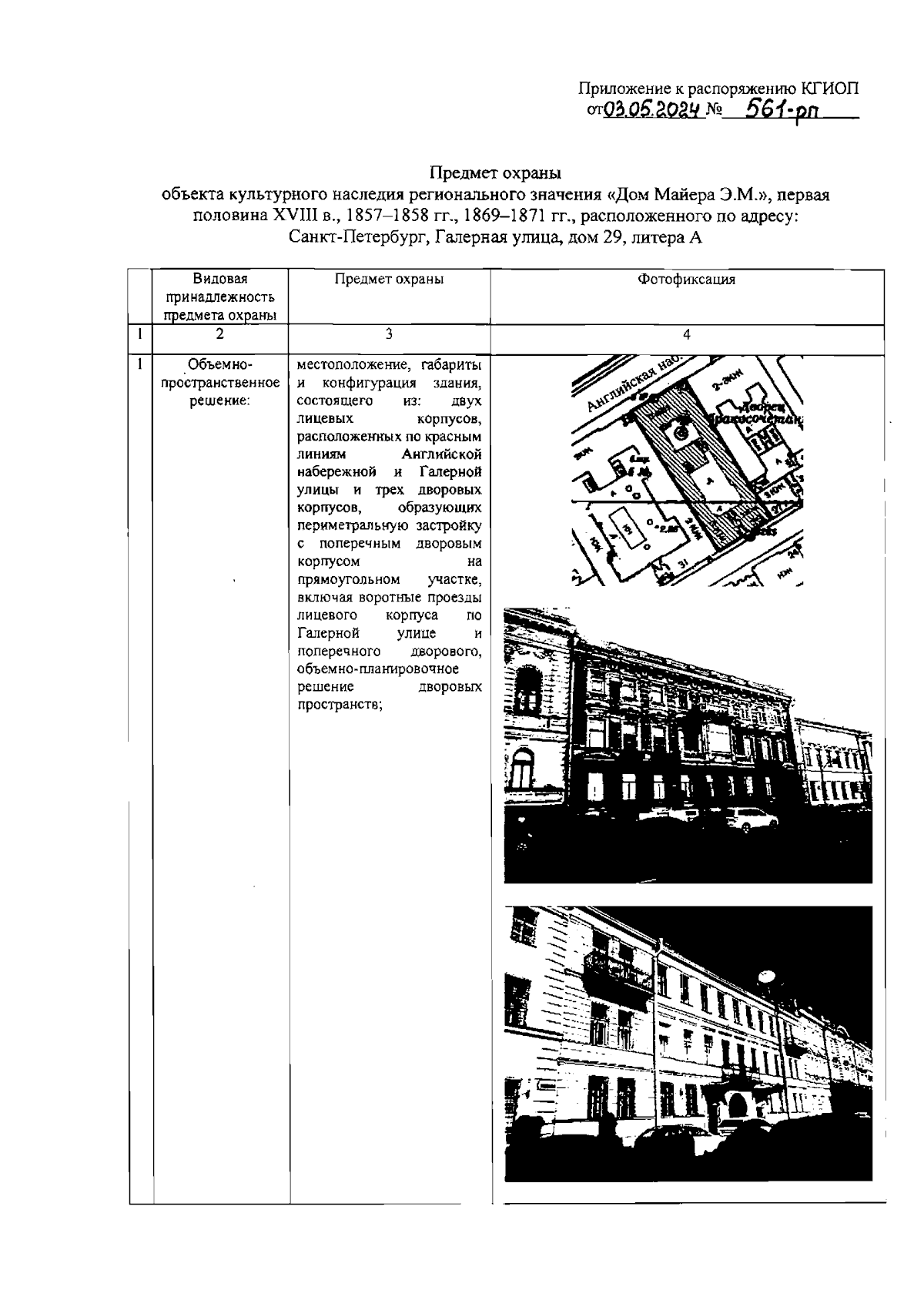
Распоряжение Комитета по государственному контролю, использованию и охране памятников истории и культуры Санкт-Петербурга от 03.05.2024 № 561-рп
"Об утверждении предмета охраны объекта культурного наследия регионального значения "Дом Майера Э.М."
(Зарегистрирован 07.05.2024 № 47707)
Номер опубликования: 7801202405080032
Дата опубликования: 08.05.2024
Страница №2 из 30:
Увеличить