Официальное опубликование правовых актов
ОФИЦИАЛЬНОЕ ОПУБЛИКОВАНИЕ
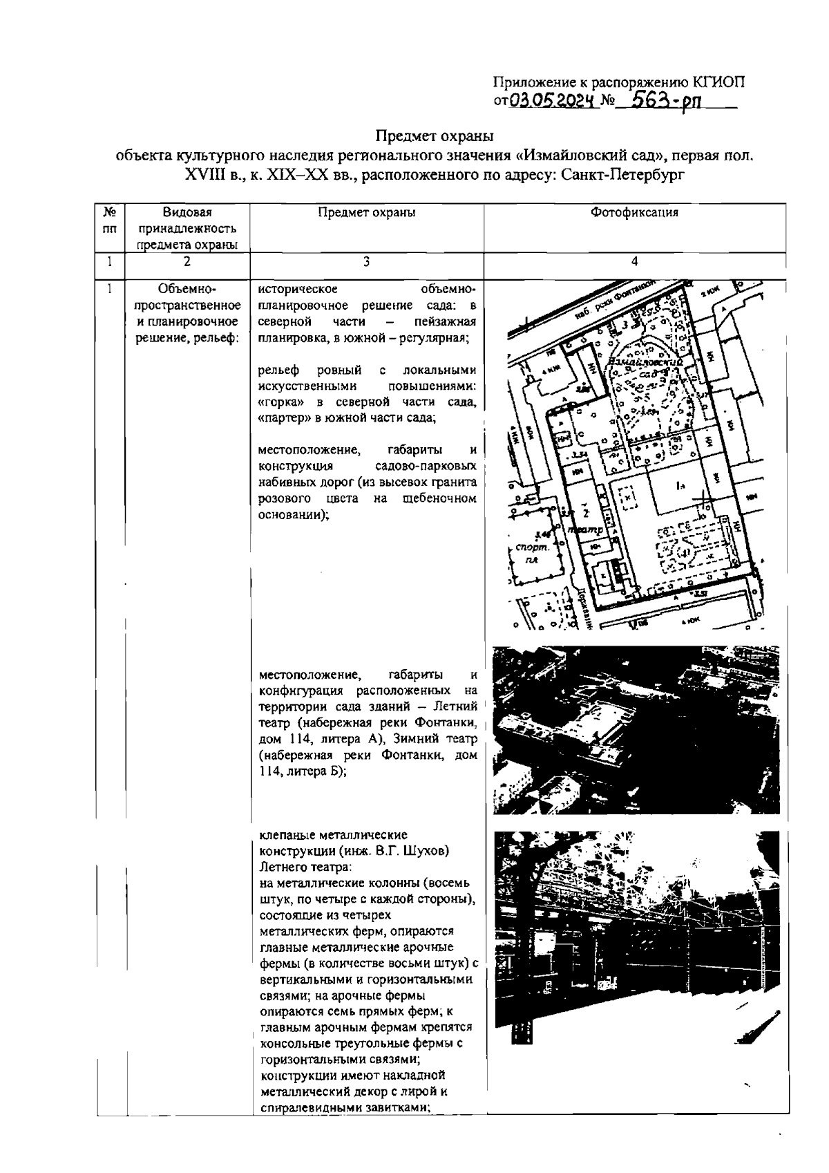
Распоряжение Комитета по государственному контролю, использованию и охране памятников истории и культуры Санкт-Петербурга от 03.05.2024 № 563-рп
"Об утверждении предмета охраны объекта культурного наследия регионального значения "Измайловский сад"
(Зарегистрирован 07.05.2024 № 47709)
Номер опубликования: 7801202405080030
Дата опубликования: 08.05.2024
Страница №2 из 6:
Увеличить