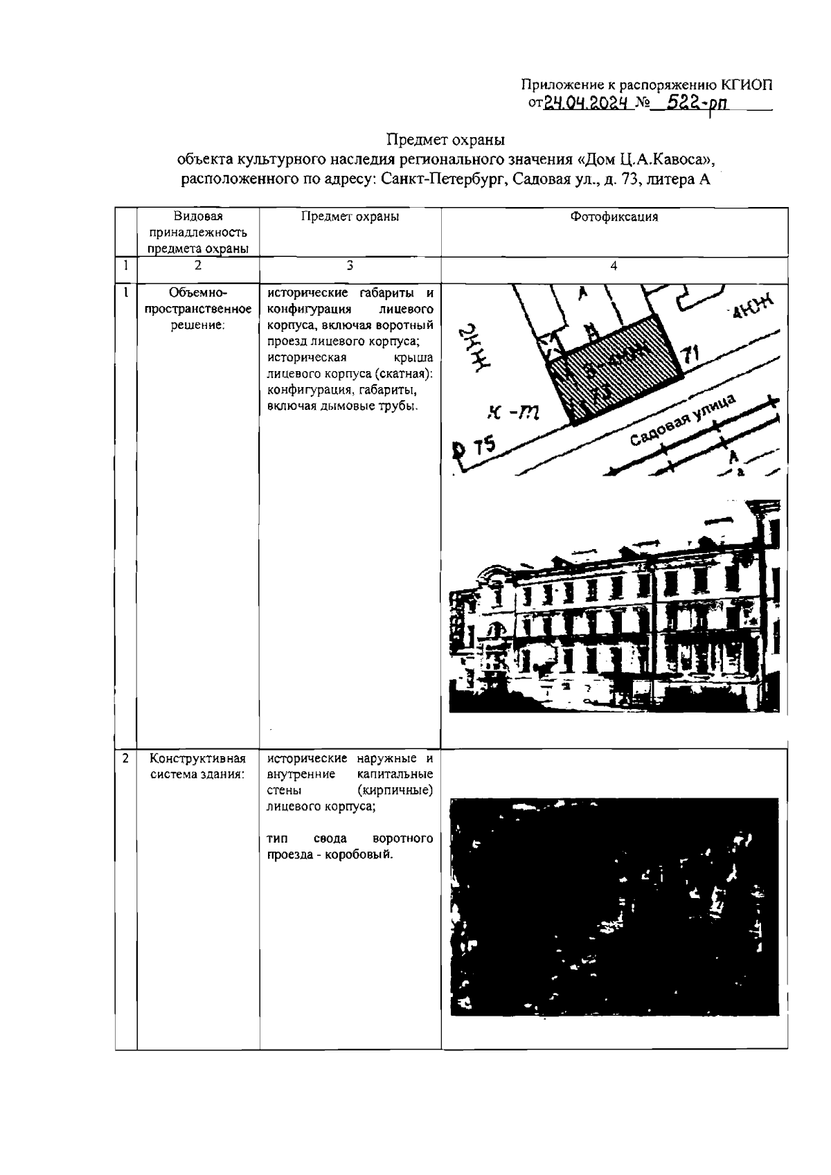
Распоряжение Комитета по государственному контролю, использованию и охране памятников истории и культуры Санкт-Петербурга от 24.04.2024 № 522-рп
"Об утверждении предмета охраны объекта культурного наследия регионального значения "Дом Ц.А.Кавоса"
(Зарегистрирован 24.04.2024 № 47613)
"Об утверждении предмета охраны объекта культурного наследия регионального значения "Дом Ц.А.Кавоса"
(Зарегистрирован 24.04.2024 № 47613)
Номер опубликования: 7801202404270037
Дата опубликования:
27.04.2024
