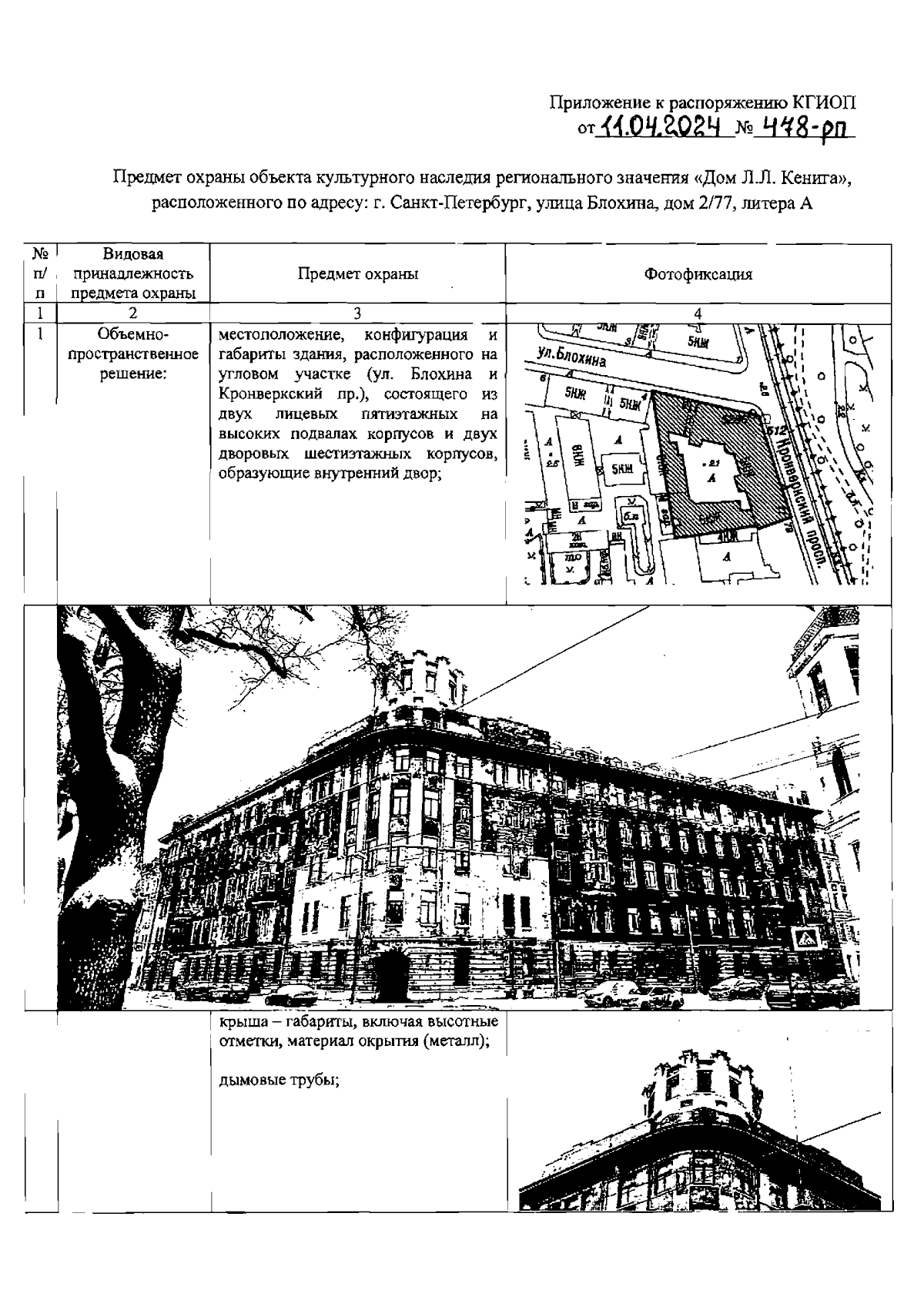
Распоряжение Комитета по государственному контролю, использованию и охране памятников истории и культуры Санкт-Петербурга от 11.04.2024 № 478-рп
"Об утверждении предмета охраны объекта культурного наследия регионального значения "Дом Л.Л. Кенига"
(Зарегистрирован 16.04.2024 № 37559)
"Об утверждении предмета охраны объекта культурного наследия регионального значения "Дом Л.Л. Кенига"
(Зарегистрирован 16.04.2024 № 37559)
Номер опубликования: 7801202404190006
Дата опубликования:
19.04.2024
