Официальное опубликование правовых актов
ОФИЦИАЛЬНОЕ ОПУБЛИКОВАНИЕ
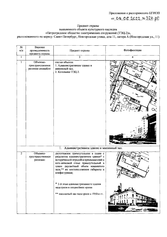
Распоряжение Комитета по государственному контролю, использованию и охране памятников истории и культуры Санкт-Петербурга от 07.06.2022 № 324-рп
"Об утверждении предмета охраны выявленного объекта культурного наследия "Петроградское общество электрических сооружений (ТЭЦ-2)"
Номер опубликования: 7801202206080004
Дата опубликования: 08.06.2022
Страница №2 из 14:
Увеличить