Официальное опубликование правовых актов
ОФИЦИАЛЬНОЕ ОПУБЛИКОВАНИЕ
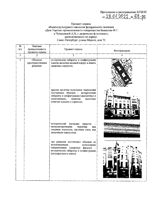
Распоряжение Комитета по государственному контролю, использованию и охране памятников истории и культуры Санкт-Петербурга от 28.01.2022 № 69-рп
"Об утверждении предмета охраны объекта культурного наследия федерального значения "Дом Торгово-промышленного товарищества Бажанова Ф.Г. и Чувалдиной А.П. с дворовыми флигелями"
Номер опубликования: 7801202202040035
Дата опубликования: 04.02.2022
Страница №2 из 29:
Увеличить