Официальное опубликование правовых актов
ОФИЦИАЛЬНОЕ ОПУБЛИКОВАНИЕ
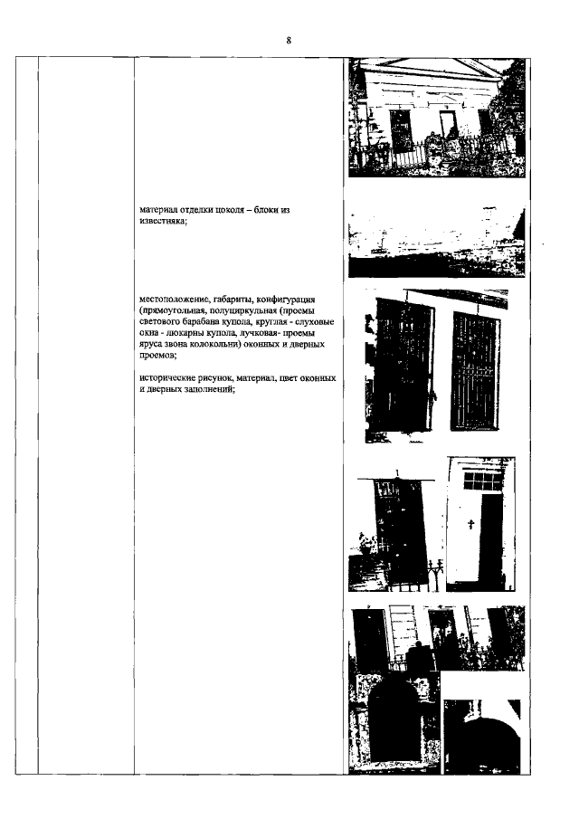
Распоряжение Комитета по государственному контролю, использованию и охране памятников истории и культуры Санкт-Петербурга от 24.12.2021 № 403-рп
"Об утверждении предмета охраны объекта культурного наследия федерального значения "Церковь святого благоверного князя Александра Невского"
Номер опубликования: 7801202112300029
Дата опубликования: 30.12.2021
Страница №9 из 14:
Увеличить