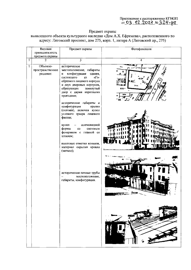
Распоряжение Комитета по государственному контролю, использованию и охране памятников истории и культуры Санкт-Петербурга от 03.12.2021 № 324-рп
"Об утверждении предмета охраны выявленного объекта культурного наследия "Дом А.Х. Ефремова"
"Об утверждении предмета охраны выявленного объекта культурного наследия "Дом А.Х. Ефремова"
Номер опубликования: 7801202112100010
Дата опубликования:
10.12.2021
