Официальное опубликование правовых актов
ОФИЦИАЛЬНОЕ ОПУБЛИКОВАНИЕ
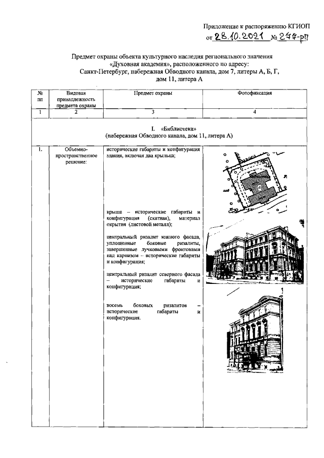
Распоряжение Комитета по государственному контролю, использованию и охране памятников истории и культуры Санкт-Петербурга от 28.10.2021 № 277-рп
"Об утверждении предмета охраны объекта культурного наследия регионального значения "Духовная академия"
Номер опубликования: 7801202111030008
Дата опубликования: 03.11.2021
Страница №2 из 30:
Увеличить