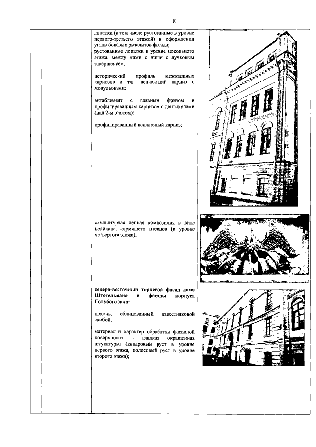
Распоряжение Комитета по государственному контролю, использованию и охране памятников истории и культуры Санкт-Петербурга от 20.09.2021 № 197-рп
"Об утверждении предмета охраны объекта культурного наследия федерального значения "Дом Штегельмана Г.Х. (Александринский сиротский дом)", входящего в состав объекта культурного наследия федерального значения "Воспитательный дом Императорский"
"Об утверждении предмета охраны объекта культурного наследия федерального значения "Дом Штегельмана Г.Х. (Александринский сиротский дом)", входящего в состав объекта культурного наследия федерального значения "Воспитательный дом Императорский"
Номер опубликования: 7801202109220013
Дата опубликования:
22.09.2021
