Официальное опубликование правовых актов
ОФИЦИАЛЬНОЕ ОПУБЛИКОВАНИЕ
Приказ Инспекции Тульской области по государственной охране объектов культурного наследия от 27.10.2023 № 105
"Об утверждении предмета охраны объекта культурного наследия регионального значения "Бывшая Воскресенская церковь", 1825-1881 гг., Тульская область, Дубенский район, с. Воскресенское"
(Зарегистрирован 27.10.2023 № 105)
Номер опубликования: 7101202310270003
Дата опубликования: 27.10.2023
Страница №12 из 21:
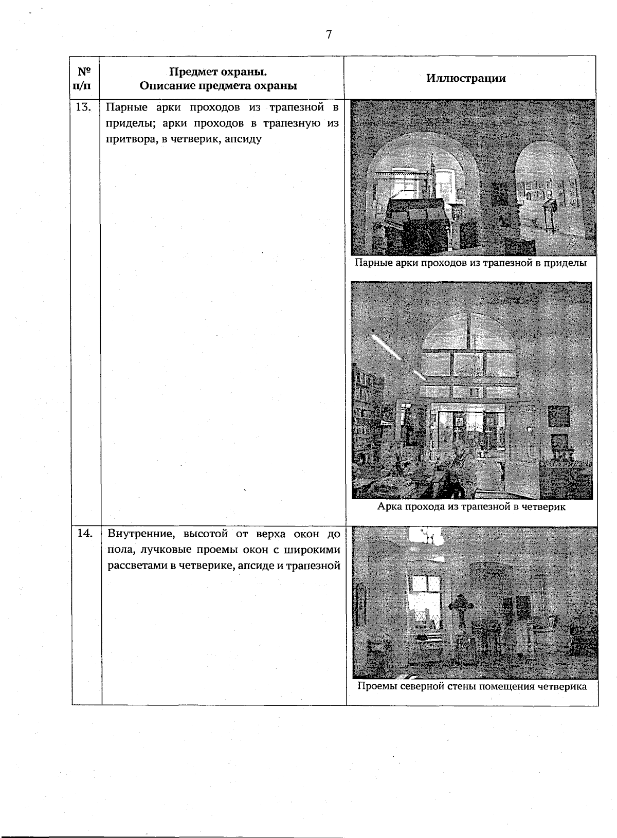
Увеличить