Официальное опубликование правовых актов
ОФИЦИАЛЬНОЕ ОПУБЛИКОВАНИЕ
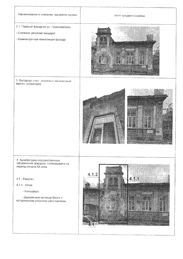
Приказ Управления по охране объектов культурного наследия Саратовской области от 16.11.2020 № 01-04/380
"Об утверждении предмета охраны объекта культурного наследия регионального значения, расположенного по адресу: Саратовская область, г. Саратов, ул. Первомайская, 59"
Номер опубликования: 6401202011200007
Дата опубликования: 20.11.2020
Страница №3 из 11:
Увеличить