Официальное опубликование правовых актов
ОФИЦИАЛЬНОЕ ОПУБЛИКОВАНИЕ
Приказ Инспекции государственной охраны объектов культурного наследия Оренбургской области от 10.12.2024 № 01-08-517
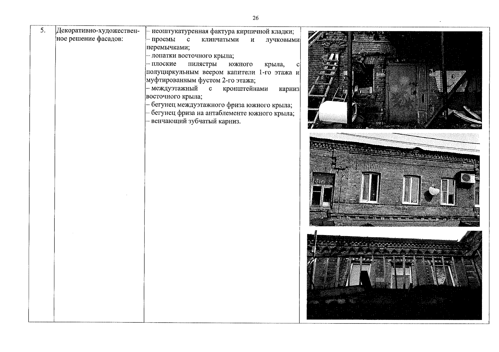
"О включении выявленного объекта культурного наследия в единый государственный реестр объектов культурного наследия (памятников истории и культуры) народов Российской Федерации в качестве объекта культурного наследия регионального значения (вид – ансамбль) "Городская усадьба купца С.Г. Габитова", последняя четверть XIX – начало XX веков (Оренбургская область, город Оренбург, улица Бурзянцева, дом 14/переулок Диспансерный, дом 15), об утверждении предмета охраны, границ и режима использования территории объекта культурного наследия"
(Зарегистрирован 10.12.2024 № 0209/2024/22)
Номер опубликования: 5601202412100010
Дата опубликования: 10.12.2024
Страница №26 из 31:
Увеличить