Официальное опубликование правовых актов
ОФИЦИАЛЬНОЕ ОПУБЛИКОВАНИЕ
Приказ Инспекции государственной охраны объектов культурного наследия Оренбургской области от 06.02.2024 № 01-08-62
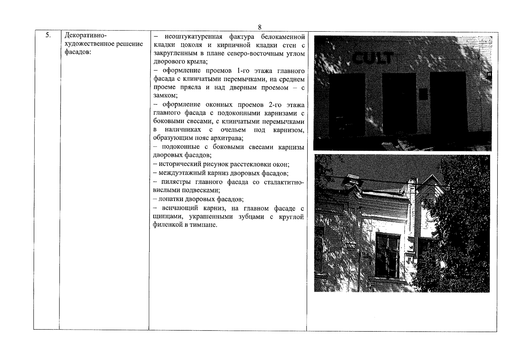
"О включении выявленного объекта культурного наследия в единый государственный реестр объектов культурного наследия (памятников истории и культуры) народов Российской Федерации в качестве объекта культурного наследия регионального значения (вид – памятник) "Дом торговый купца А.Н. Захо", последняя треть XIX века, (Оренбургская обл., г. Оренбург, пер. Рыбный, 4 / пер. Мало-Торговый, 3, Литера А), об утверждении предмета охраны, границ и режима использования территории объекта культурного наследия"
(Зарегистрирован 06.02.2024 № 0036/2024/22)
Номер опубликования: 5601202402060007
Дата опубликования: 06.02.2024
Страница №8 из 15:
Увеличить