Официальное опубликование правовых актов
ОФИЦИАЛЬНОЕ ОПУБЛИКОВАНИЕ
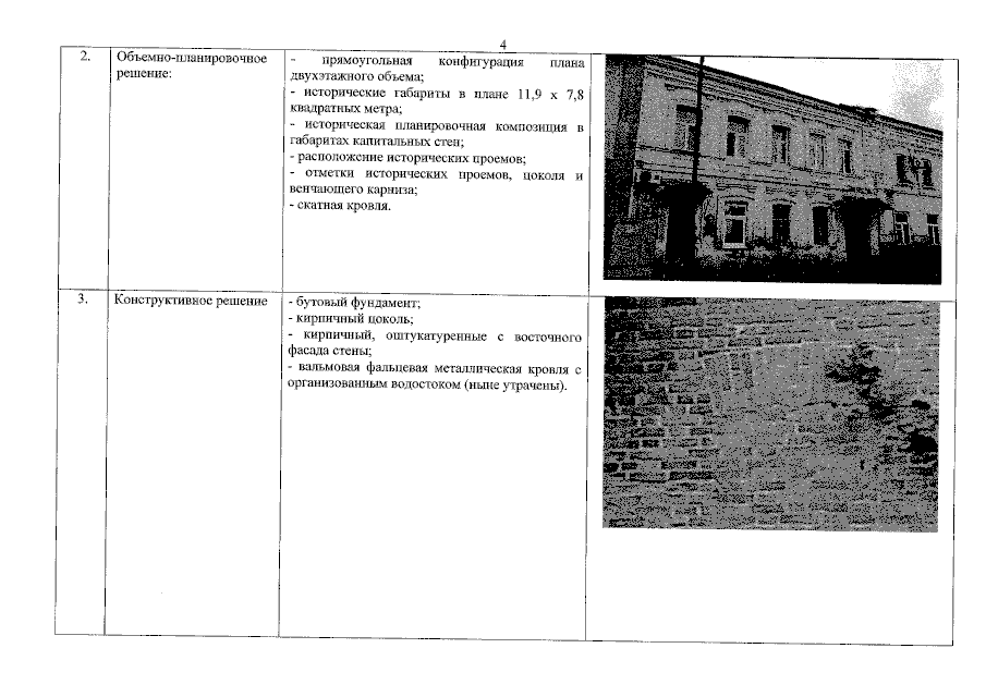
Приказ Инспекции государственной охраны объектов культурного наследия Оренбургской области от 26.07.2023 № 01-08-312
"О включении выявленного объекта культурного наследия в единый государственный реестр объектов культурного наследия (памятников истории и культуры) народов Российской Федерации, об утверждении предмета охраны, границ и режима использования территории объекта культурного наследия"
(Зарегистрирован 26.07.2023 № 0186/2023/22)
Номер опубликования: 5601202307270033
Дата опубликования: 27.07.2023
Страница №4 из 11:
Увеличить