Официальное опубликование правовых актов
ОФИЦИАЛЬНОЕ ОПУБЛИКОВАНИЕ
Приказ Комитета по культуре Ленинградской области от 11.03.2019 № 01-03/19-160
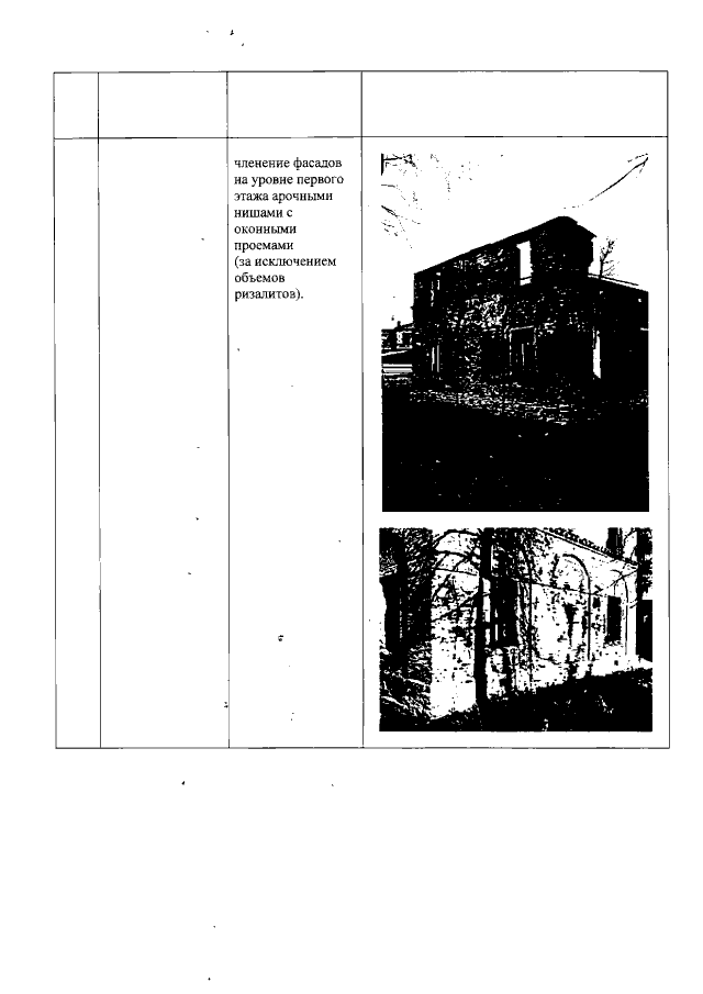
"Об установлении предмета охраны объекта культурного наследия федерального значения "Главный усадебный дом и парк, принадлежавший Оленину Алексею Николаевичу, у которого бывали: А.С. Пушкин, И.А. Крылов, А.С. Грибоедов, М.И. Глинка, К.П. Брюллов и др.", 1-ая пол. XIX в., по адресу: Ленинградская область, Всеволожский муниципальный район, Всеволожское городское поселение, г. Всеволожск, шоссе Дорога Жизни, 5-й км, а также выявленных объектов культурного наследия, расположенных на его территории, и входящих в его состав"
Номер опубликования: 4701201903200010
Дата опубликования: 20.03.2019
Страница №33 из 96:
Увеличить