Официальное опубликование правовых актов
ОФИЦИАЛЬНОЕ ОПУБЛИКОВАНИЕ
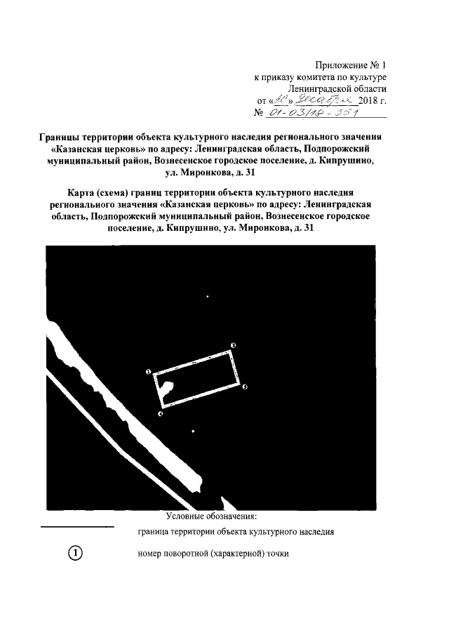
Приказ Комитета по культуре Ленинградской области от 20.12.2018 № 01-03/18-551
"Об установлении границ территории и предмета охраны объекта культурного наследия регионального значения "Казанская церковь" по адресу: Ленинградская область, Подпорожский муниципальный район, Вознесенское городское поселение, д. Кипрушино, ул. Миронкова, д. 31"
Номер опубликования: 4701201812290148
Дата опубликования: 29.12.2018
Страница №3 из 8:
Увеличить