Официальное опубликование правовых актов
ОФИЦИАЛЬНОЕ ОПУБЛИКОВАНИЕ
Приказ Комитета по культуре Ленинградской области от 20.12.2018 № 01-03/18-535
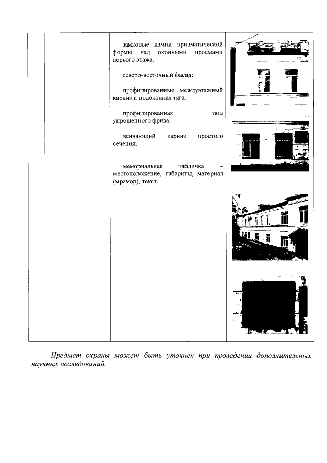
"Об установлении границ территории и предмета охраны объекта культурного наследия регионального значения "Дом, в котором в 1918 г. проходил первый уездный съезд Советов рабочих, крестьянских и солдатских депутатов" по адресу: Ленинградская область, Тихвинский муниципальный район, Тихвинское городское поселение, г. Тихвин, ул. Советская, 43"
Номер опубликования: 4701201812290140
Дата опубликования: 29.12.2018
Страница №8 из 8:
Увеличить