Официальное опубликование правовых актов
ОФИЦИАЛЬНОЕ ОПУБЛИКОВАНИЕ
Приказ Комитета по культуре Ленинградской области от 24.12.2018 № 01-03/18-613
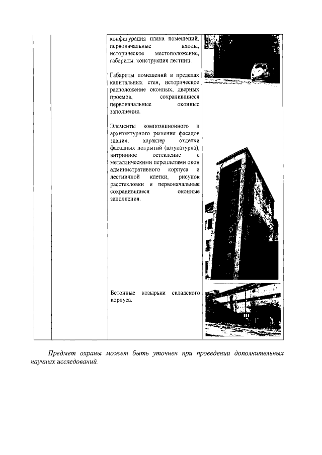
"Об установлении границ территории и предмета охраны объекта культурного наследия регионального значения "Административное и складское здание фирмы "Ханккия" по адресу: Ленинградская область, Выборгский муниципальный район, г. Выборг, ул. Данилова, д. 11"
Номер опубликования: 4701201812290014
Дата опубликования: 29.12.2018
Страница №7 из 7:
Увеличить