Официальное опубликование правовых актов
ОФИЦИАЛЬНОЕ ОПУБЛИКОВАНИЕ
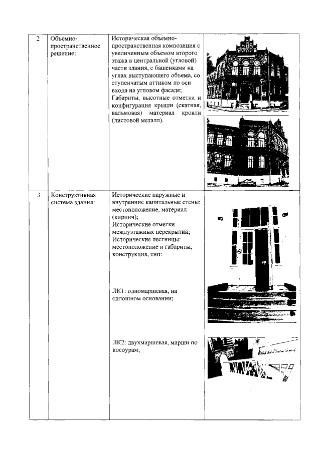
Приказ Комитета по культуре Ленинградской области от 20.12.2018 № 01-03/18-595
"Об установлении границ территории и предмета охраны объекта культурного наследия регионального значения "Школа" по адресу: Ленинградская область, Выборгский муниципальный район, г. Выборг, ул. Выборгская, д. 25"
Номер опубликования: 4701201812290005
Дата опубликования: 29.12.2018
Страница №7 из 13:
Увеличить