Официальное опубликование правовых актов
ОФИЦИАЛЬНОЕ ОПУБЛИКОВАНИЕ
Приказ Министерства природных ресурсов и экологии Иркутской области от 24.06.2024 № 66-39-мпр
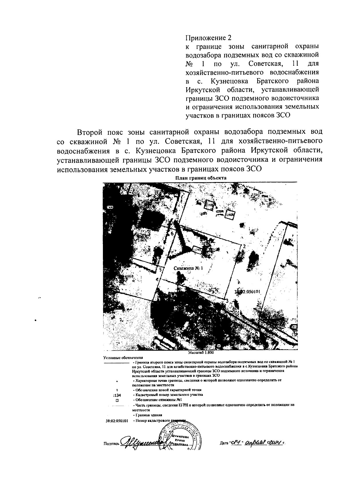
"Об установлении зоны санитарной охраны водозабора подземных вод со скважиной № 1 по ул. Советская, 11 для хозяйственно-питьевого водоснабжения в с. Кузнецовка Братского района Иркутской области, устанавливающей границы ЗСО подземного водоисточника и ограничения использования земельных участков в границах поясов ЗСО"
(Зарегистрирован 24.06.2024 № 03-1238/24)
Номер опубликования: 3801202406240009
Дата опубликования: 24.06.2024
Страница №7 из 10:
Увеличить