Официальное опубликование правовых актов
ОФИЦИАЛЬНОЕ ОПУБЛИКОВАНИЕ
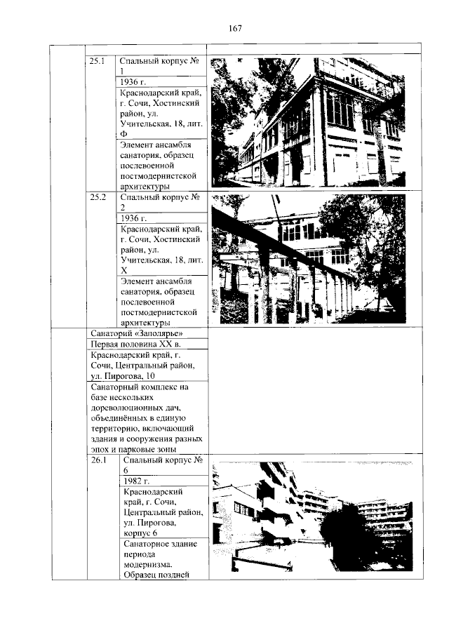
Приказ администрации Краснодарского края от 14.07.2023 № 500-КН
"Об утверждении предмета охраны, границ территории и требований к градостроительным регламентам в границах территории исторического поселения регионального значения город Сочи"
Номер опубликования: 2301202307210005
Дата опубликования: 21.07.2023
Страница №169 из 716:
Увеличить