Официальное опубликование правовых актов
ОФИЦИАЛЬНОЕ ОПУБЛИКОВАНИЕ
Приказ Управления по государственной охране объектов культурного наследия Республики Башкортостан от 16.09.2025 № 389
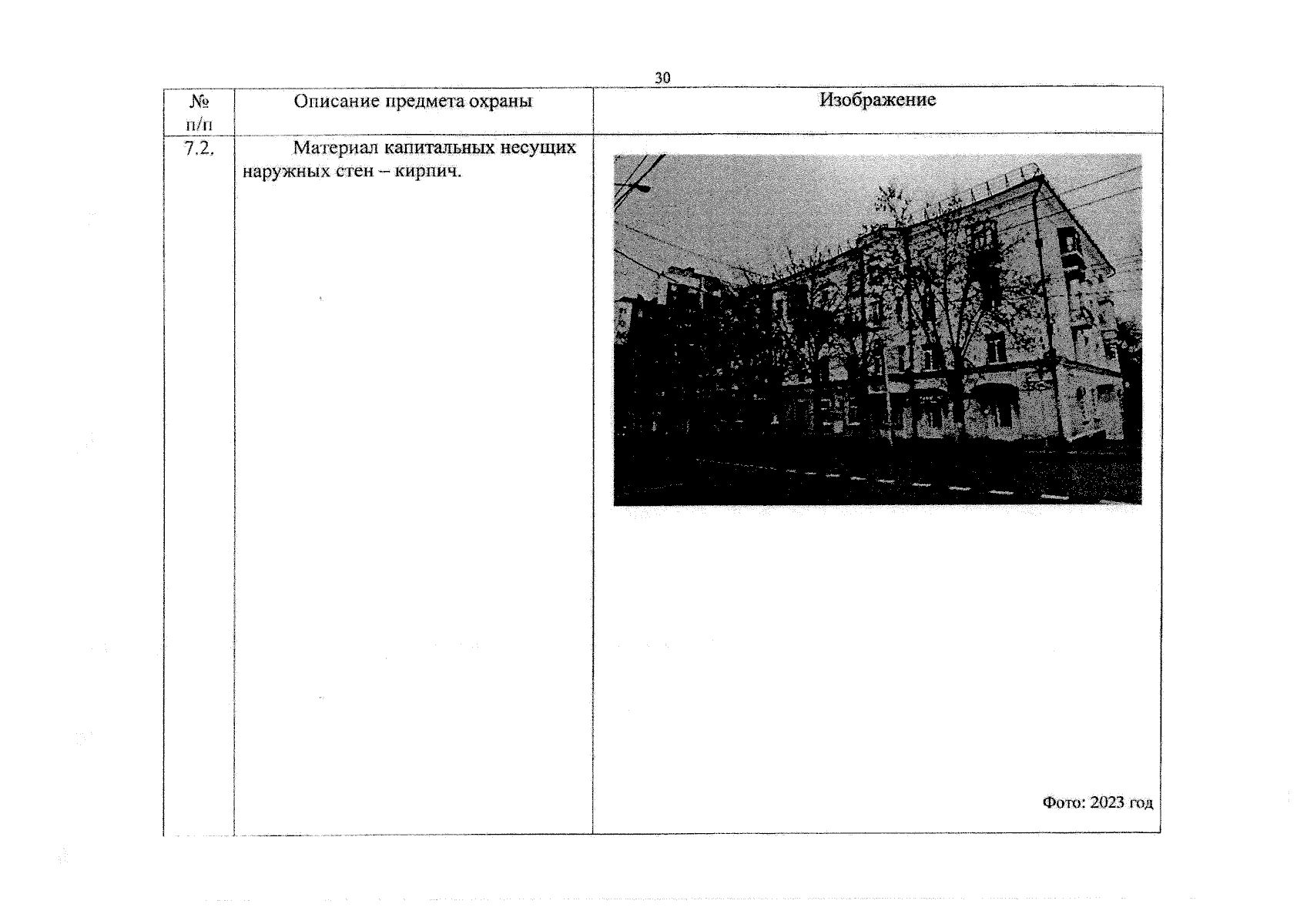
"О включении выявленного объекта культурного наследия "4-этажный жилой дом", 1950-е гг., расположенного по адресу: Республика Башкортостан, г. Уфа, ул. Карла Маркса, д. 52, в единый государственный реестр объектов культурного наследия (памятников истории и культуры) народов Российской Федерации в качестве объекта культурного наследия регионального значения, утверждении его предмета охраны, границ и режима использования территории"
(Зарегистрирован 24.09.2025 № 24797)
Номер опубликования: 0201202509290001
Дата опубликования: 29.09.2025
Страница №38 из 38:
Увеличить