Официальное опубликование правовых актов
ОФИЦИАЛЬНОЕ ОПУБЛИКОВАНИЕ
Приказ Министерства промышленности и торговли Российской Федерации от 30.05.2016 № 1762
"Об утверждении Правил государственной регистрации аэродромов экспериментальной авиации и вертодромов экспериментальной авиации Российской Федерации, формы свидетельства о государственной регистрации аэродрома экспериментальной авиации или вертодрома экспериментальной авиации Российской Федерации, выдаваемого при государственной регистрации, и Порядка допуска к эксплуатации аэродромов экспериментальной авиации, вертодромов экспериментальной авиации Российской Федерации"
(Зарегистрирован 15.07.2016 № 42886)
Номер опубликования: 0001201607190001
Дата опубликования: 19.07.2016
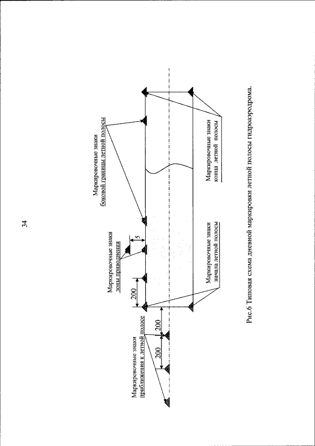
Страница №44 из 97:
Увеличить