Распоряжение Комитета по государственному контролю, использованию и охране памятников истории и культуры Санкт-Петербурга от 18.01.2022 № 20-рп
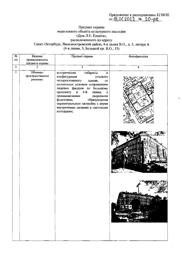
"Об утверждении предмета охраны выявленного объекта культурного наследия "Дом Л.Е. Кенига"
"Об утверждении предмета охраны выявленного объекта культурного наследия "Дом Л.Е. Кенига"
Номер опубликования: 7801202201200001
Дата опубликования:
20.01.2022
