Приказ Комитета по культуре Ленинградской области от 24.12.2018 № 01-03/18-612
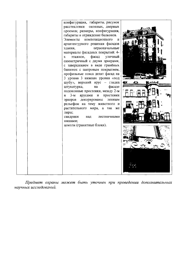
"Об установлении границ территории и предмета охраны объекта культурного наследия регионального значения "Дом доходный, рубеж XIX-XX вв. Здесь в сентябре 1917 г. жил В.И. Ленин" по адресу: Ленинградская область, Выборгский муниципальный район, г. Выборг, ул. Тургенева, д. 8"
"Об установлении границ территории и предмета охраны объекта культурного наследия регионального значения "Дом доходный, рубеж XIX-XX вв. Здесь в сентябре 1917 г. жил В.И. Ленин" по адресу: Ленинградская область, Выборгский муниципальный район, г. Выборг, ул. Тургенева, д. 8"
Номер опубликования: 4701201812290066
Дата опубликования:
29.12.2018
