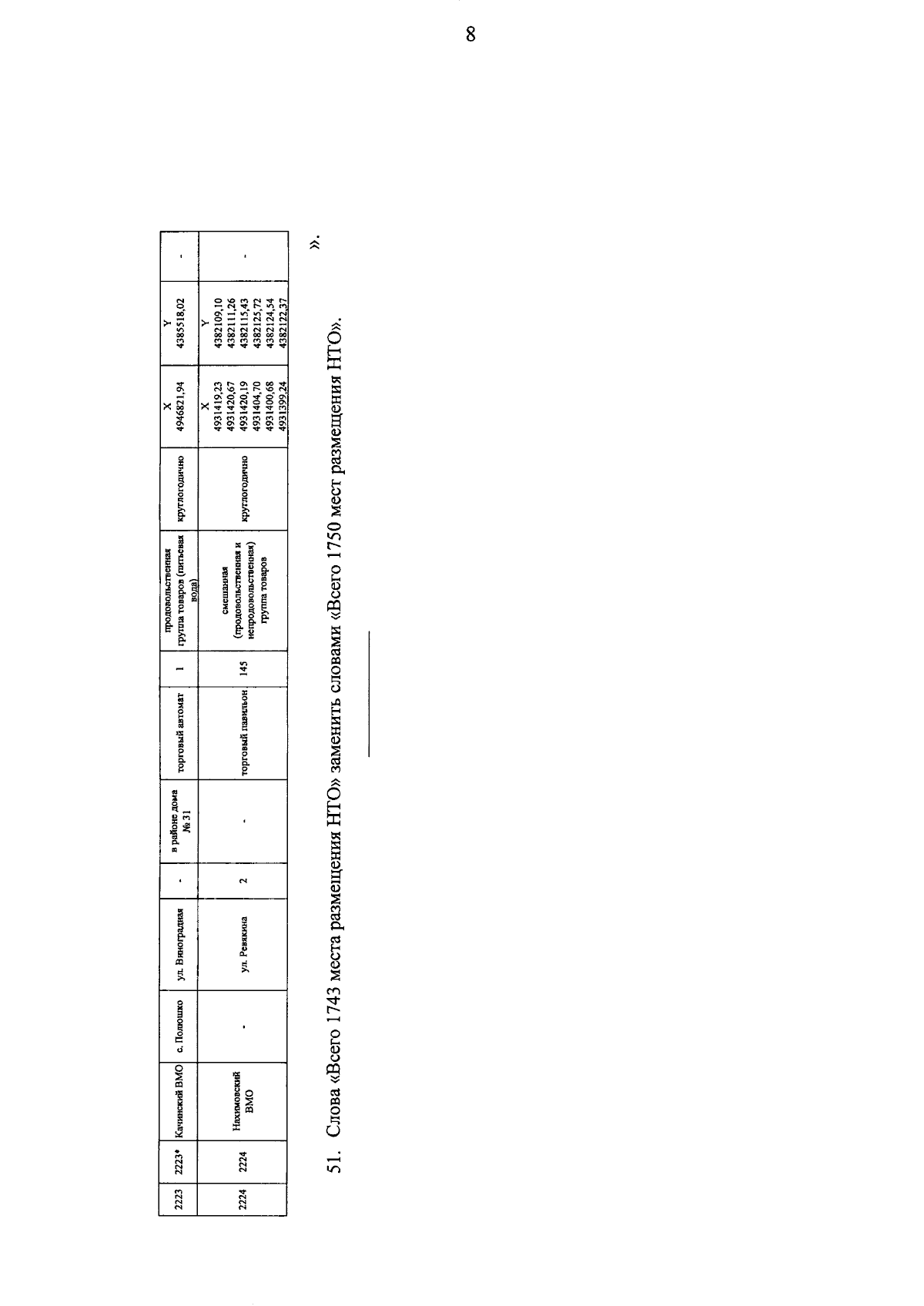
Постановление Правительства Севастополя от 26.03.2024 № 106-ПП
"О внесении изменений в постановление Правительства Севастополя от 27.12.2019 № 701-ПП "Об утверждении схемы размещения нестационарных торговых объектов на территории города Севастополя"
"О внесении изменений в постановление Правительства Севастополя от 27.12.2019 № 701-ПП "Об утверждении схемы размещения нестационарных торговых объектов на территории города Севастополя"
Номер опубликования: 9200202404010006
Дата опубликования:
01.04.2024
