Официальное опубликование правовых актов
ОФИЦИАЛЬНОЕ ОПУБЛИКОВАНИЕ
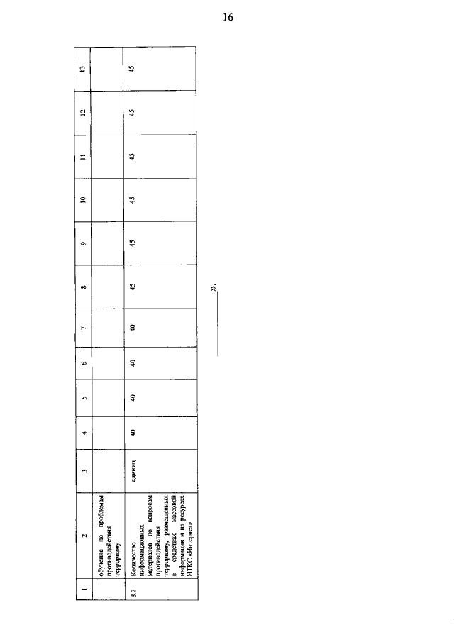
Постановление Правительства Севастополя от 15.06.2022 № 250-ПП
"О внесении изменений в постановление Правительства Севастополя от 23.12.2021 № 695-П "Об утверждении государственной программы города Севастополя "Обеспечение общественной безопасности в городе Севастополе"
Номер опубликования: 9200202206230006
Дата опубликования: 23.06.2022
Страница №17 из 55:
Увеличить