Официальное опубликование правовых актов
ОФИЦИАЛЬНОЕ ОПУБЛИКОВАНИЕ
Постановление Правительства Севастополя от 26.03.2021 № 111-ПП
"О внесении изменений в постановление Правительства Севастополя от 23.11.2016 № 1115-ПП "Об утверждении государственной программы города Севастополя "Развитие здравоохранения в городе Севастополе"
Номер опубликования: 9200202104020013
Дата опубликования: 02.04.2021
Страница №205 из 453:
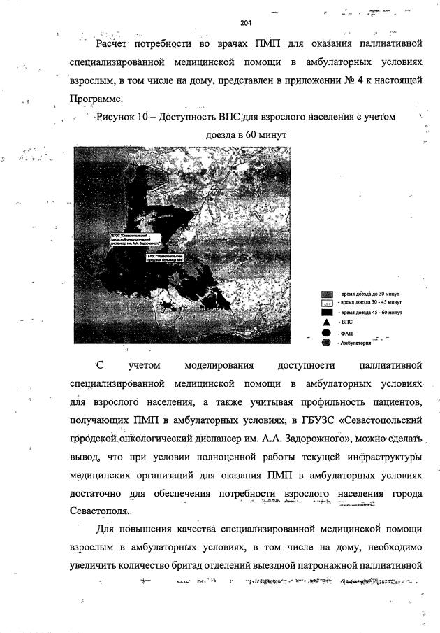
Увеличить