Приказ Департамента имущественных отношений Ямало-Ненецкого автономного округа от 22.12.2025 № 536
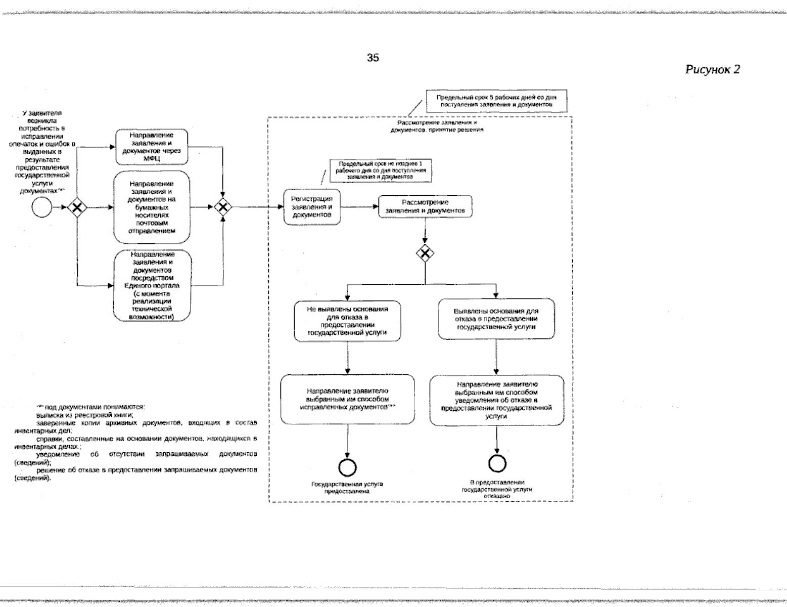
"О внесении изменения в Административный регламент государственного бюджетного учреждения Ямало-Ненецкого автономного округа "Государственная кадастровая оценка" по предоставлению государственной услуги "Предоставление копий технических паспортов, оценочной и иной хранившейся по состоянию на 01 января 2013 года в органах и организациях по государственному техническому учету и (или) технической инвентаризации учетно-технической документации об объектах государственного технического учета и технической инвентаризации (регистрационные книги, реестры, копии правоустанавливающих документов и тому подобное) и содержащихся в них сведений"
(Зарегистрирован 23.12.2025 № 664)
"О внесении изменения в Административный регламент государственного бюджетного учреждения Ямало-Ненецкого автономного округа "Государственная кадастровая оценка" по предоставлению государственной услуги "Предоставление копий технических паспортов, оценочной и иной хранившейся по состоянию на 01 января 2013 года в органах и организациях по государственному техническому учету и (или) технической инвентаризации учетно-технической документации об объектах государственного технического учета и технической инвентаризации (регистрационные книги, реестры, копии правоустанавливающих документов и тому подобное) и содержащихся в них сведений"
(Зарегистрирован 23.12.2025 № 664)
Номер опубликования: 8901202512230050
Дата опубликования:
23.12.2025
