Официальное опубликование правовых актов
ОФИЦИАЛЬНОЕ ОПУБЛИКОВАНИЕ
Приказ Департамента экономики Ямало-Ненецкого автономного округа от 15.10.2025 № 382-О
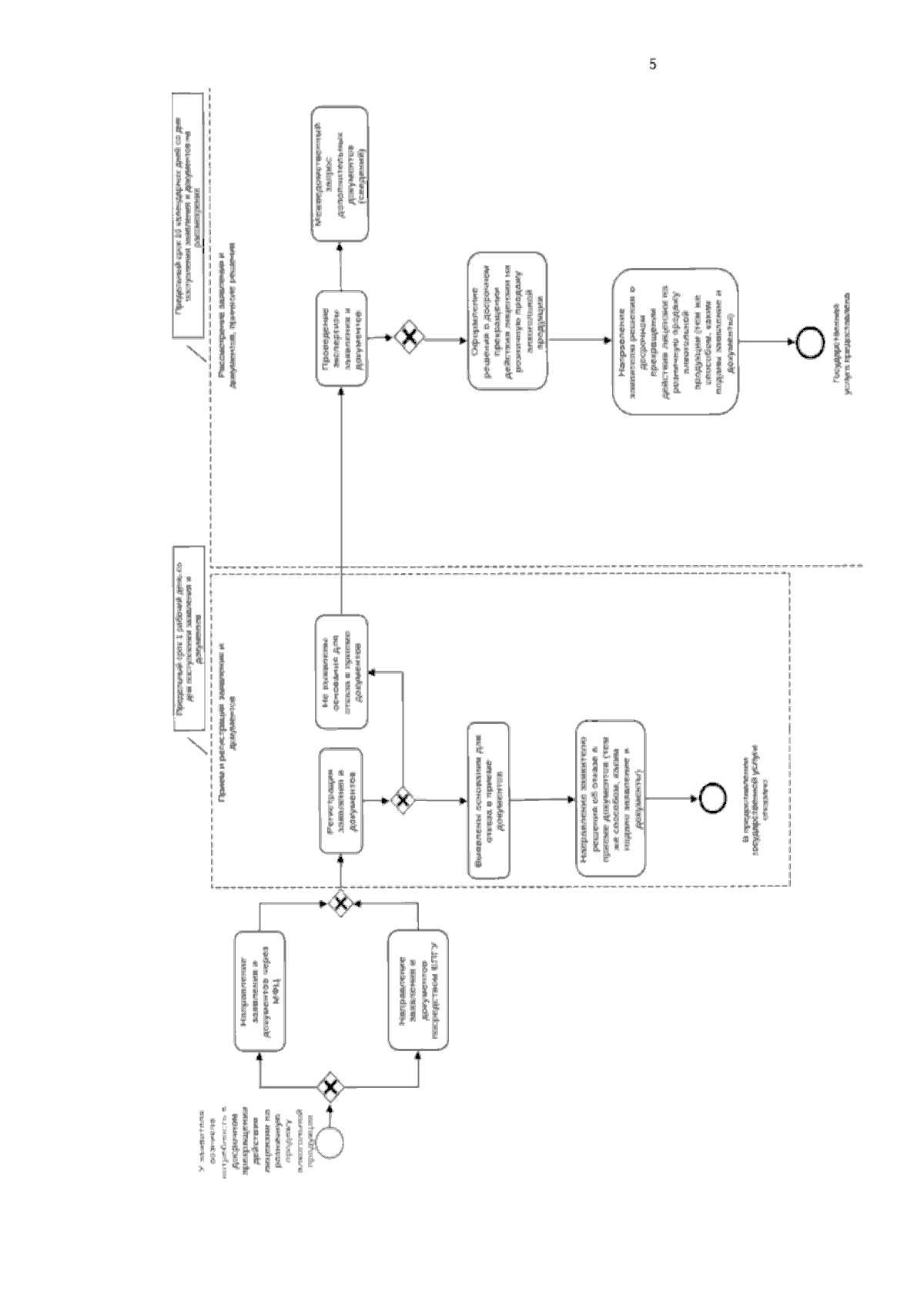
"О внесении изменения в Административный регламент департамента экономики Ямало-Ненецкого автономного округа по предоставлению государственной услуги "Лицензирование розничной продажи алкогольной продукции (за исключением лицензирования розничной продажи произведенной сельскохозяйственными производителями винодельческой продукции)"
(Зарегистрирован 17.10.2025 № 328)
Номер опубликования: 8901202510170004
Дата опубликования: 17.10.2025
Страница №68 из 70:
Увеличить