Официальное опубликование правовых актов
ОФИЦИАЛЬНОЕ ОПУБЛИКОВАНИЕ
Постановление Губернатора Ямало-Ненецкого автономного округа от 05.03.2024 № 16-ПГ
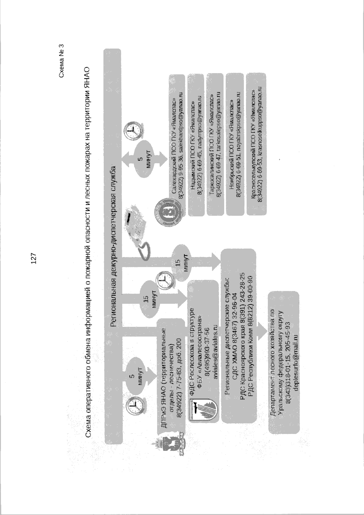
"Об утверждении сводного плана тушения лесных пожаров на территории Ямало-Ненецкого автономного округа на период пожароопасного сезона 2024 года"
Номер опубликования: 8900202403060009
Дата опубликования: 06.03.2024
Страница №128 из 140:
Увеличить