Официальное опубликование правовых актов
ОФИЦИАЛЬНОЕ ОПУБЛИКОВАНИЕ
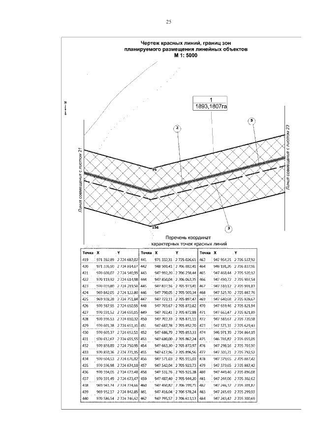
Приказ Департамента строительства Ханты-Мансийского автономного округа – Югры от 27.11.2018 № 24-нп
"Об утверждении документации по планировке территории"
(Зарегистрирован 03.12.2018 № 4051)
Номер опубликования: 8601201812100001
Дата опубликования: 10.12.2018
Страница №25 из 549:
Увеличить