Официальное опубликование правовых актов
ОФИЦИАЛЬНОЕ ОПУБЛИКОВАНИЕ
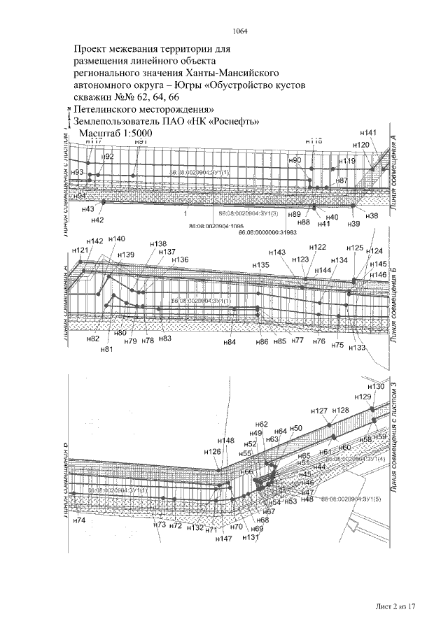
Постановление Правительства Ханты-Мансийского автономного округа - Югры от 25.11.2016 № 462-п
"Об утверждении документации по планировке территории для размещения линейных объектов регионального значения Ханты-Мансийского автономного округа – Югры и о внесении изменений в некоторые постановления Правительства Ханты-Мансийского автономного округа – Югры"
Номер опубликования: 8600201611290001
Дата опубликования: 29.11.2016
Страница №1064 из 1579:
Увеличить