Официальное опубликование правовых актов
ОФИЦИАЛЬНОЕ ОПУБЛИКОВАНИЕ
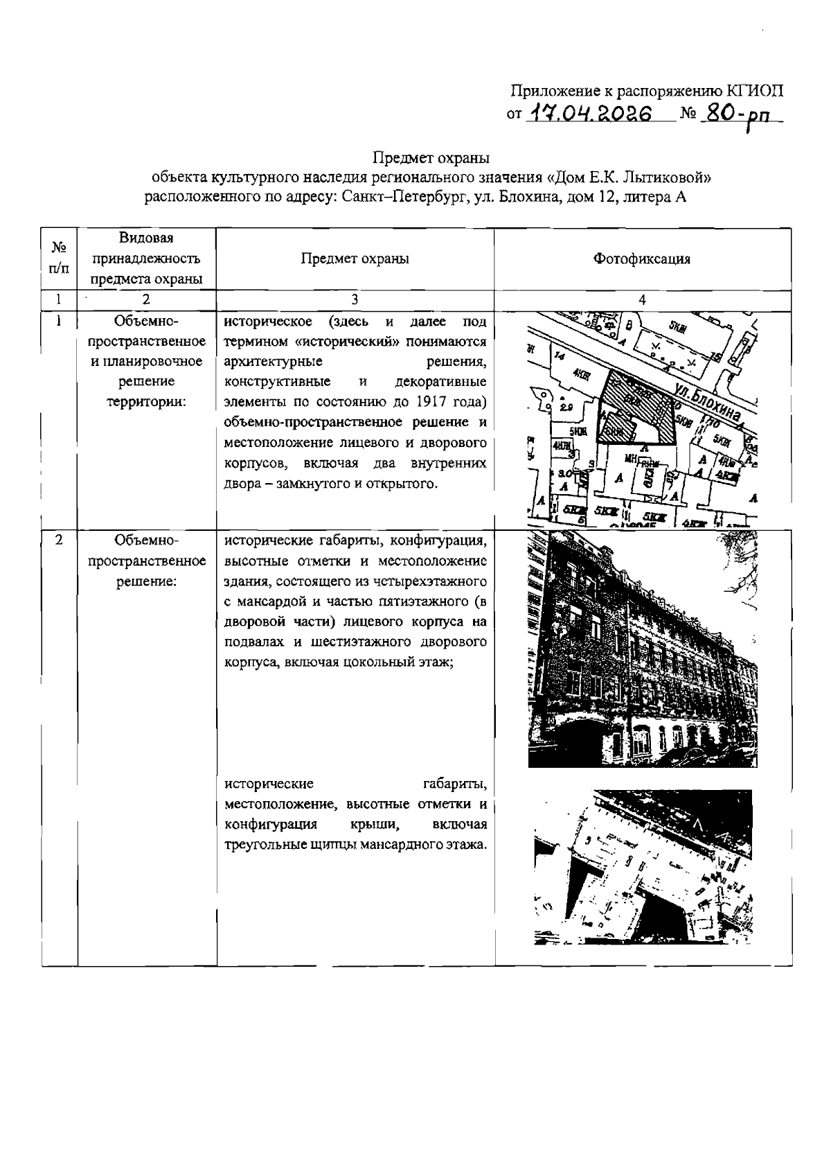
Распоряжение Комитета по государственному контролю, использованию и охране памятников истории и культуры от 17.04.2026 № 80-рп
"Об утверждении предмета охраны объекта культурного наследия регионального значения "Дом Е.К. Лытиковой"
(Зарегистрирован 22.04.2026 № 53211)
Номер опубликования: 7801202604230010
Дата опубликования: 23.04.2026
Страница №2 из 15:
Увеличить