Официальное опубликование правовых актов
ОФИЦИАЛЬНОЕ ОПУБЛИКОВАНИЕ
Распоряжение Комитета по государственному контролю, использованию и охране памятников истории и культуры от 11.02.2026 № 21-рп
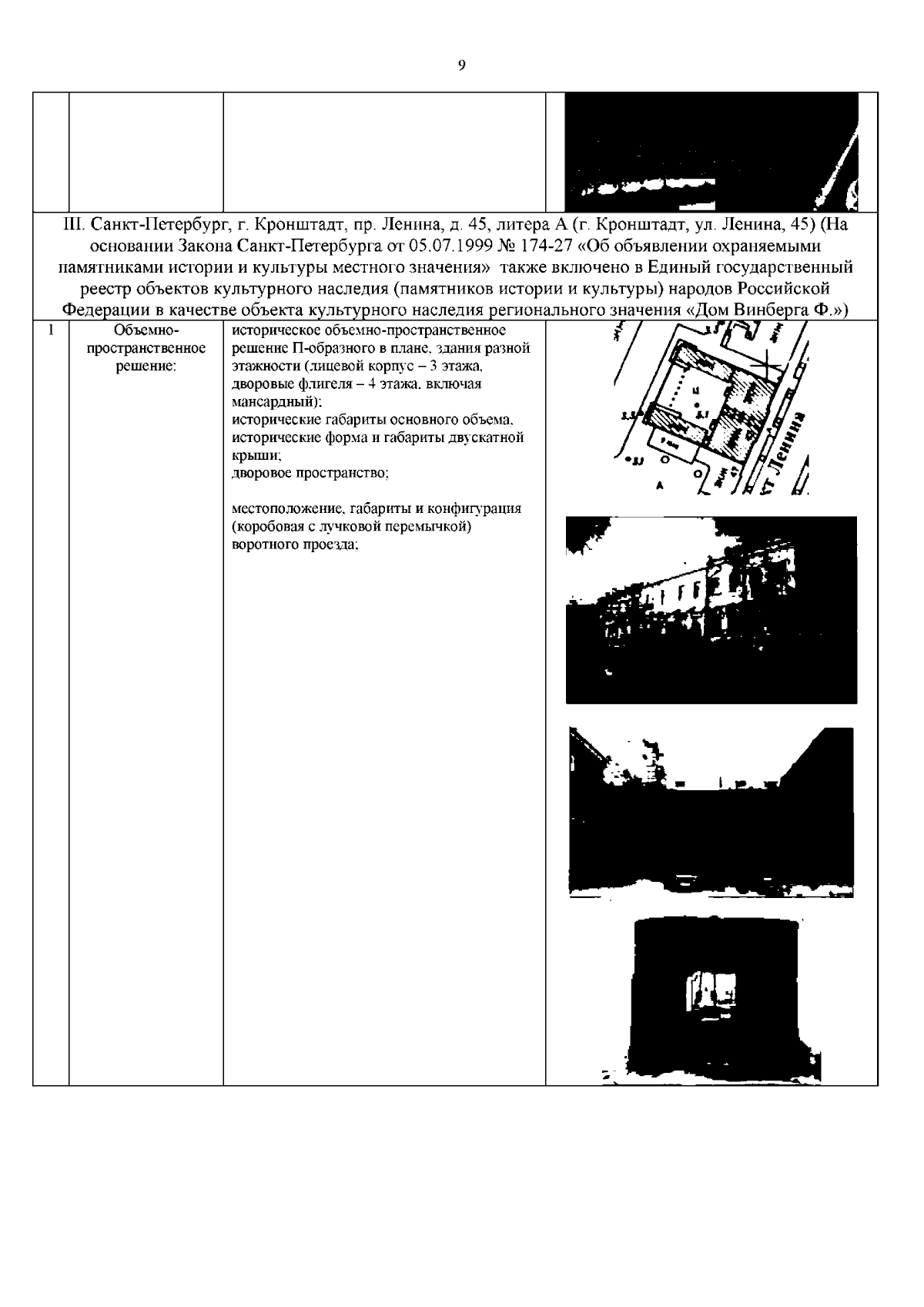
"Об утверждении предмета охраны объекта культурного наследия регионального значения "Комплекс домов по ул. Ленина 23, 29, 45, 47, 49/5, 51 (лицевые флигели)"
(Зарегистрирован 12.02.2026 № 51849)
Номер опубликования: 7801202602130001
Дата опубликования: 13.02.2026
Страница №10 из 30:
Увеличить