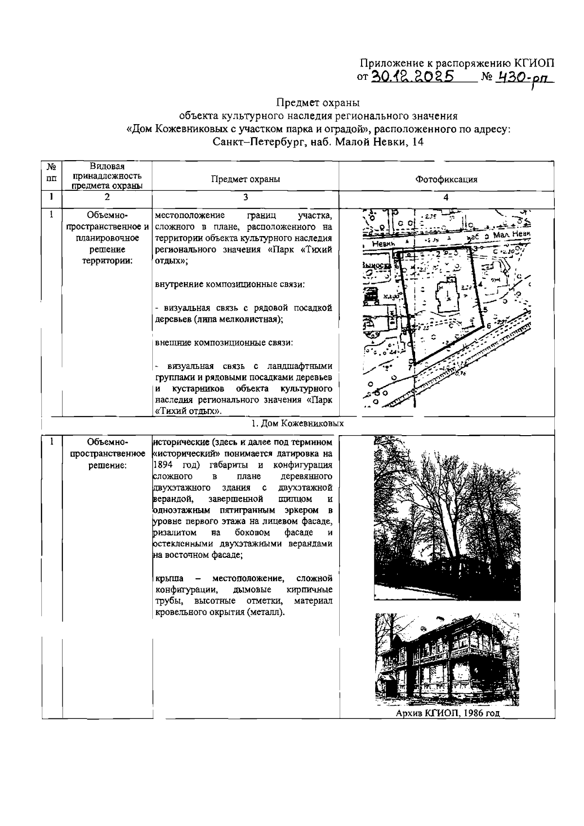
Распоряжение Комитета по государственному контролю, использованию и охране памятников истории и культуры от 30.12.2025 № 430-рп
"Об утверждении предмета охраны объекта культурного наследия регионального значения "Дом Кожевниковых с участком парка и оградой"
(Зарегистрирован 30.12.2025 № 51660)
"Об утверждении предмета охраны объекта культурного наследия регионального значения "Дом Кожевниковых с участком парка и оградой"
(Зарегистрирован 30.12.2025 № 51660)
Номер опубликования: 7801202512300067
Дата опубликования:
30.12.2025
