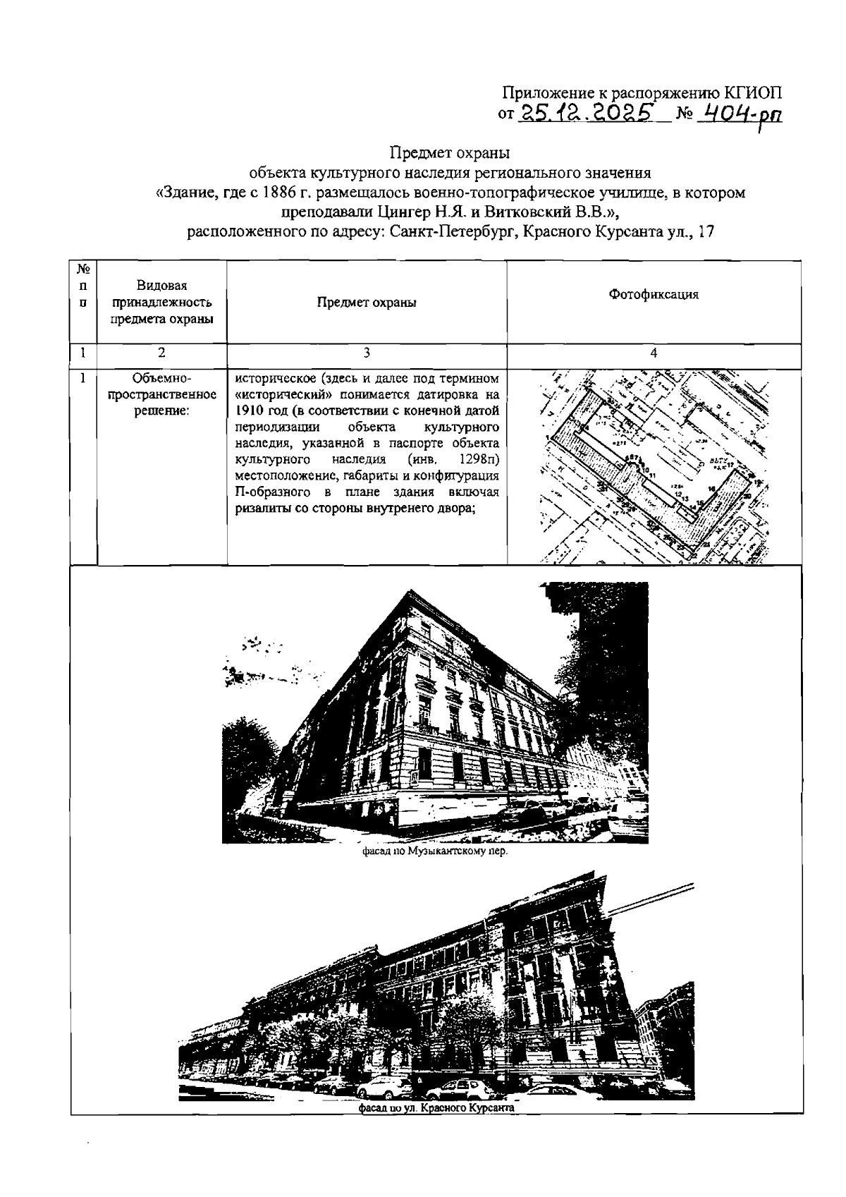
Распоряжение Комитета по государственному контролю, использованию и охране памятников истории и культуры от 25.12.2025 № 404-рп
"Об утверждении предмета охраны объекта культурного наследия регионального значения "Здание, где с 1886 г. размещалось военно-топографическое училище, в котором преподавали Цингер Н.Я. и Витковский В.В."
(Зарегистрирован 26.12.2025 № 51542)
"Об утверждении предмета охраны объекта культурного наследия регионального значения "Здание, где с 1886 г. размещалось военно-топографическое училище, в котором преподавали Цингер Н.Я. и Витковский В.В."
(Зарегистрирован 26.12.2025 № 51542)
Номер опубликования: 7801202512290018
Дата опубликования:
29.12.2025
