Официальное опубликование правовых актов
ОФИЦИАЛЬНОЕ ОПУБЛИКОВАНИЕ
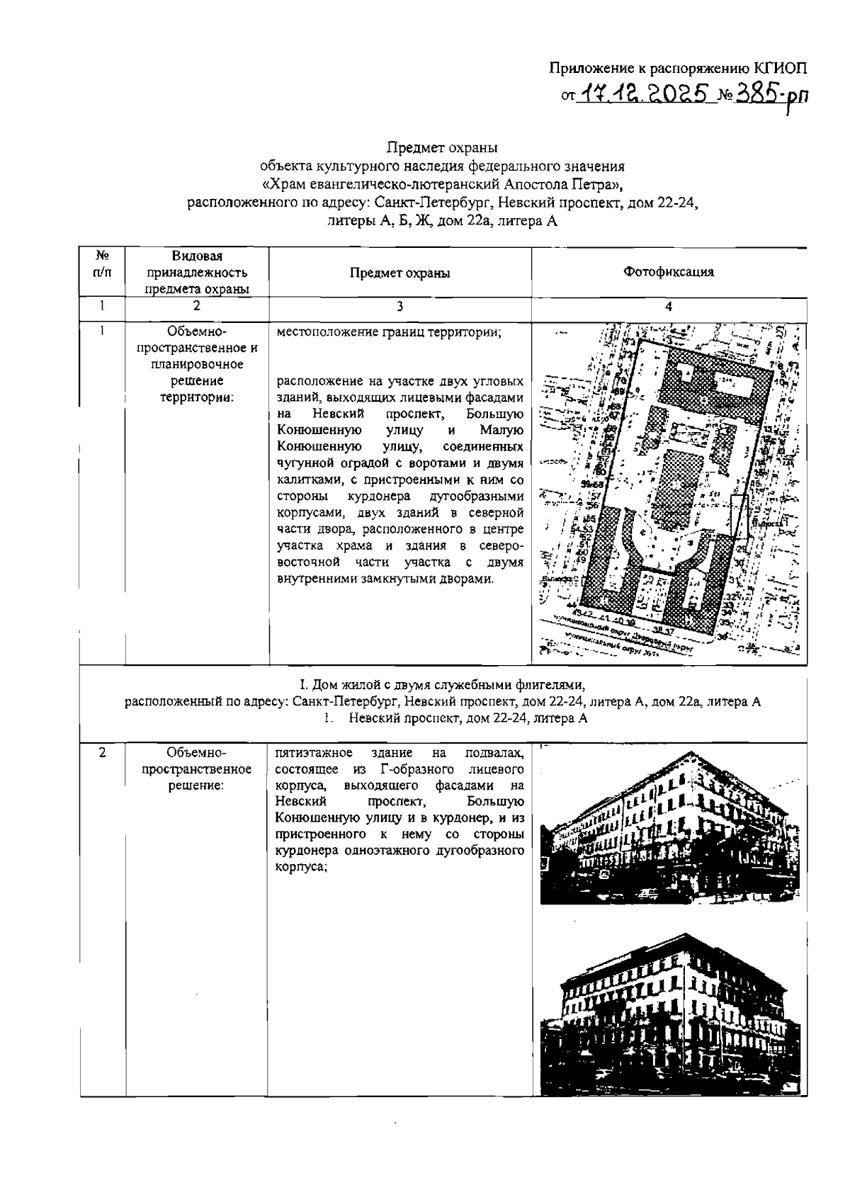
Распоряжение Комитета по государственному контролю, использованию и охране памятников истории и культуры от 17.12.2025 № 385-рп
"Об утверждении предмета охраны объекта культурного наследия федерального значения "Храм евангелическо-лютеранский Апостола Петра"
(Зарегистрирован 17.12.2025 № 51461)
Номер опубликования: 7801202512190002
Дата опубликования: 19.12.2025
Страница №2 из 61:
Увеличить