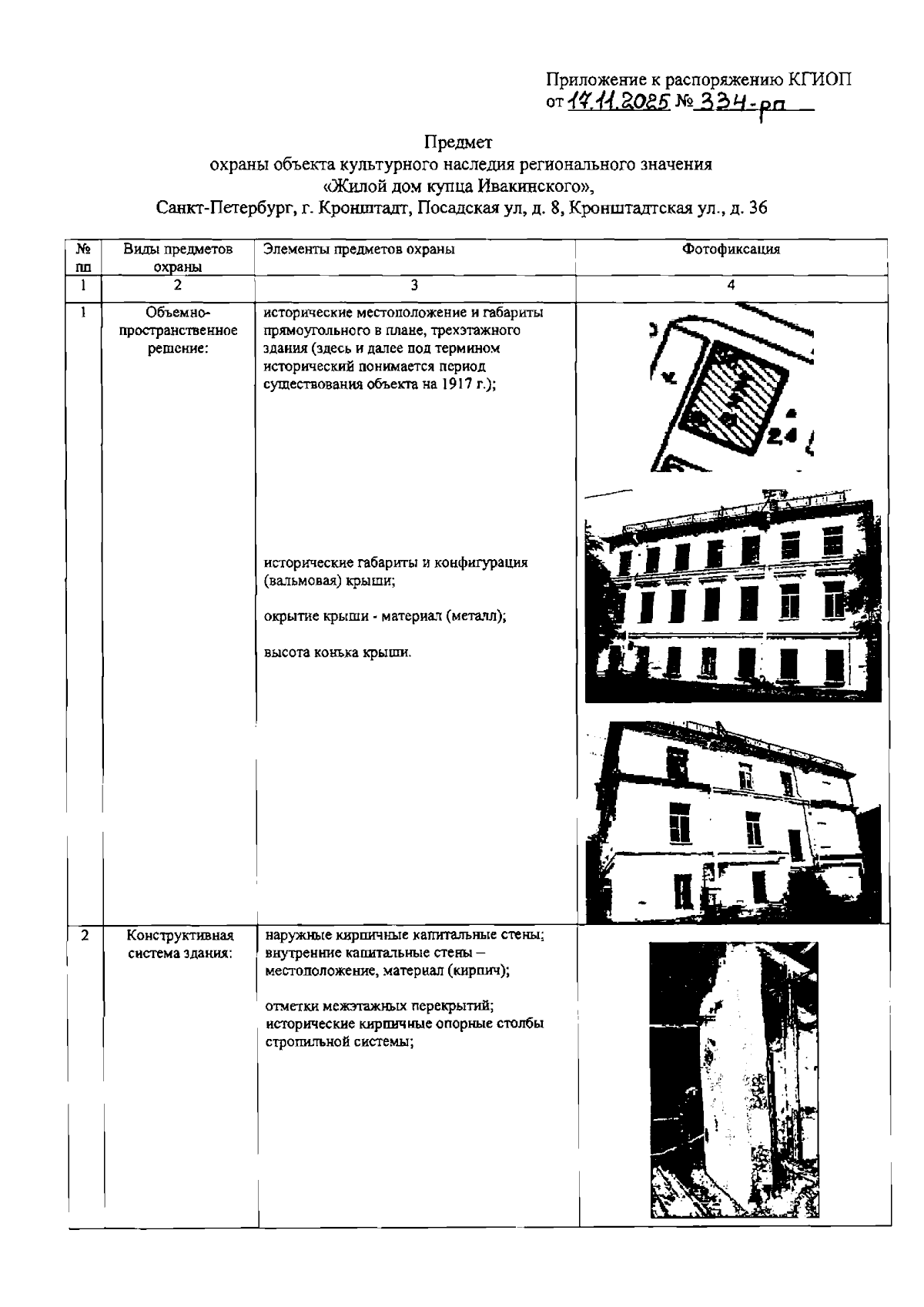
Распоряжение Комитета по государственному контролю, использованию и охране памятников истории и культуры от 17.11.2025 № 334-рп
"Об утверждении предмета охраны объекта культурного наследия регионального значения "Жилой дом купца Ивакинского"
(Зарегистрирован 19.11.2025 № 51270)
"Об утверждении предмета охраны объекта культурного наследия регионального значения "Жилой дом купца Ивакинского"
(Зарегистрирован 19.11.2025 № 51270)
Номер опубликования: 7801202511250006
Дата опубликования:
25.11.2025
