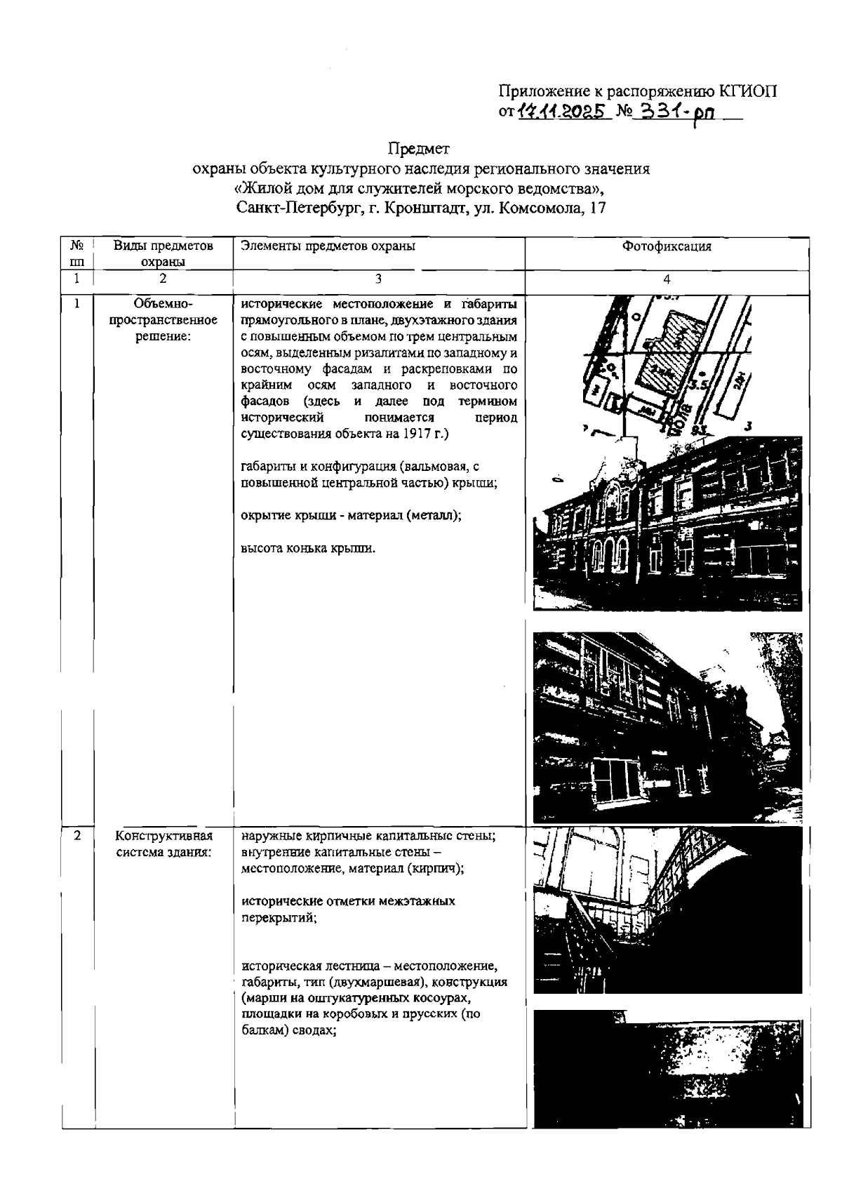
Распоряжение Комитета по государственному контролю, использованию и охране памятников истории и культуры от 17.11.2025 № 331-рп
"Об утверждении предмета охраны объекта культурного наследия регионального значения "Жилой дом для служителей морского ведомства"
(Зарегистрирован 18.11.2025 № 51262)
"Об утверждении предмета охраны объекта культурного наследия регионального значения "Жилой дом для служителей морского ведомства"
(Зарегистрирован 18.11.2025 № 51262)
Номер опубликования: 7801202511250004
Дата опубликования:
25.11.2025
